Audio Amplifier AK 602
Audio Kino és Hangtechnikai Vállalat, Budapest
- Land
- Ungarn
- Hersteller / Marke
- Audio Kino és Hangtechnikai Vállalat, Budapest
- Jahr
- 1957 ?
- Kategorie
- NF-(Niederfrequenz-) Verstärker oder -Mixer
- Radiomuseum.org ID
- 155751
Klicken Sie auf den Schaltplanausschnitt, um diesen kostenlos als Dokument anzufordern.
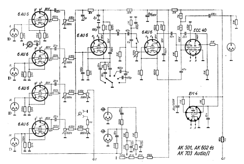
- Anzahl Röhren
- 11
- Hauptprinzip
- NF-Verstärkung
- Wellenbereiche
- Mittelwelle, keine anderen.
- Betriebsart / Volt
- Wechselstromspeisung / 110; 127; 150; 220; 240 Volt
- Lautsprecher
- - Dieses Modell benötigt externe(n) Lautsprecher.
- Material
- Metallausführung
- von Radiomuseum.org
- Modell: Audio Amplifier AK 602 - Audio Kino és Hangtechnikai
- Form
- Tischmodell, Zusatz nicht bekannt - allgemein.
- Bemerkung
- Amplifier, with radio and turntable and 4 microphon inputs.
- Literatur/Schema (1)
- Kádár Géza, Rádióvevökészülékek kapcsolása II. 1956-1959
- Autor
- Modellseite von Sándor Selyem-Tóth angelegt. Siehe bei "Änderungsvorschlag" für weitere Mitarbeit.
- Weitere Modelle
-
Hier finden Sie 77 Modelle, davon 68 mit Bildern und 35 mit Schaltbildern.
Alle gelisteten Radios usw. von Audio Kino és Hangtechnikai Vállalat, Budapest