Skyrover (made for unknown brand)
Belmont Radio Corp. (B.R.C.); Chicago, Ill.
- Pays
- Etats-Unis
- Fabricant / Marque
- Belmont Radio Corp. (B.R.C.); Chicago, Ill.
- Année
- 1933 ?
- Catégorie
- Radio - ou tuner d'après la guerre 1939-45
- Radiomuseum.org ID
- 246679
Cliquez sur la vignette du schéma pour le demander en tant que document gratuit.
- No. de tubes
- 5
- Principe général
- Super hétérodyne (en général); 1 Etage(s) BF
- Circuits accordés
- 6 Circuits MA (AM)
- Gammes d'ondes
- PO uniquement
- Tension / type courant
- Alimentation Courant Alternatif (CA) / 110 Volt
- Haut-parleur
- HP dynamique à électro-aimant (électrodynamique)
- Matière
- Boitier en bois
- De Radiomuseum.org
- Modèle: Skyrover - Belmont Radio Corp. B.R.C.;
- Forme
- Modèle de table vertical cathédrale (dessus arrondi)
- Remarques
-
We have only photos from member Donald Patterson and his comments:
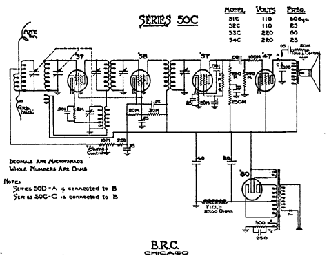
"has the same schematic as the Ozarka 56 and the cabinet looks like the one Matheson Bell used on the Model 56. I am sure he bought this set from Belmont to have a cheap one in his line. You can compare the chassis and see they are exactly the same."The same chassis can be found in the Console Pioneer model 56 - and naturally in the Belmont radio 51C - where it comes from. See also the indication on the back plate: BRC. The Pioneer 56 seems having two different cabinets (see grill).
- Source extérieure
- Donald Patterson
- Auteur
- Modèle crée par Ernst Erb. Voir les propositions de modification pour les contributeurs supplémentaires.
- D'autres Modèles
-
Vous pourrez trouver sous ce lien 442 modèles d'appareils, 207 avec des images et 383 avec des schémas.
Tous les appareils de Belmont Radio Corp. (B.R.C.); Chicago, Ill.