- Paese
- Giappone
- Produttore / Marca
- Clarion Co., Ltd.; Tokyo
- Anno
- 1948
- Categoria
- Radio (o sintonizzatore del dopoguerra WW2)
- Radiomuseum.org ID
- 99912
Clicca sulla miniatura dello schema per richiederlo come documento gratuito.
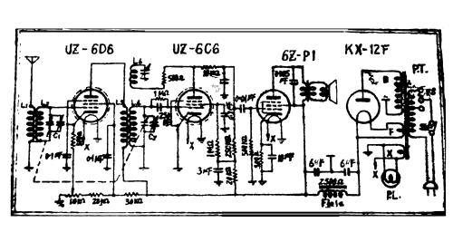
- Numero di tubi
- 4
- Principio generale
- A circuiti accordati (TRF o amplif. diretta in generale)
- N. di circuiti accordati
- 2 Circuiti Mod. Amp. (AM)
- Gamme d'onda
- Solo onde medie (OM).
- Tensioni di funzionamento
- Alimentazione a corrente alternata (CA) / 100 Volt
- Altoparlante
- Altoparlante magnetico (a spillo) senza sospensioni
- Potenza d'uscita
- 2 W (qualità ignota)
- Materiali
- Mobile in legno
- Radiomuseum.org
- Modello: 4B - Clarion Co., Ltd.; Tokyo
- Forma
- Soprammobile basso, con andamento orizzontale (grosse dimensioni).
- Annotazioni
- "National Standard Receiver No. 4B". Kou-ichi-Typ. Datenherkunft: K. Hayashi.
- Fonte dei dati
- -- Collector info (Sammler)
- Autore
- Modello inviato da Berthold Bosch † 13.2.19. Utilizzare "Proponi modifica" per inviare ulteriori dati.
- Altri modelli
-
In questo link sono elencati 112 modelli, di cui 95 con immagini e 17 con schemi.
Elenco delle radio e altri apparecchi della Clarion Co., Ltd.; Tokyo