Stolzenfels 236 II W (236 2 W)

DeTeWe

  • Year
  • 1936/1937
  • Category
  • Broadcast Receiver - or past WW2 Tuner
  • Radiomuseum.org ID
  • 1468
    • alternative name: Deutsche Telephonwerke GmbH; || Deutsche Tel-w. & und Kabelind. || DTW

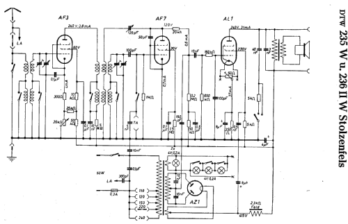
Click on the schematic thumbnail to request the schematic as a free document.

 Technical Specifications

  • Number of Tubes
  • 4
  • Main principle
  • TRF with regeneration; 1 Special; 1 AF stage(s)
  • Tuned circuits
  • 2 AM circuit(s)
  • Wave bands
  • Broadcast (MW) and Long Wave.
  • Power type and voltage
  • Alternating Current supply (AC) / 110-240 Volt
  • Loudspeaker
  • Electro Magnetic Dynamic LS (moving-coil with field excitation coil)
  • Material
  • Wooden case
  • from Radiomuseum.org
  • Model: Stolzenfels 236 II W - DeTeWe
  • Dimensions (WHD)
  • 450 x 340 x 330 mm / 17.7 x 13.4 x 13 inch
  • Notes
  • Sch=235W (aber AL4).
    Tonblende, eingebauter Mittelwellensperrkreis.
  • Net weight (2.2 lb = 1 kg)
  • 15 kg / 33 lb 0.6 oz (33.04 lb)
  • Price in first year of sale
  • 225.00 RM
  • Circuit diagram reference
  • Lange + FS-Bestückungstabellen
  • Other Models
  • Here you find 116 models, 94 with images and 57 with schematics for wireless sets etc. In French: TSF for Télégraphie sans fil.
    All listed radios etc. from DeTeWe

 Collections | Museums | Literature

 Forum