- País
- Estados Unidos
- Fabricante / Marca
- Detrola; Detroit (MI)
- Año
- 1937 ?
- Categoría
- Radio - o Sintonizador pasado WW2
- Radiomuseum.org ID
- 37192
Haga clic en la miniatura esquemática para solicitarlo como documento gratuito.
- Numero de valvulas
- 5
- Principio principal
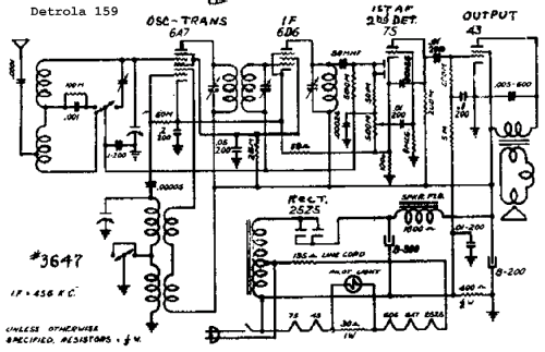
- Superheterodino en general; ZF/IF 456 kHz; 2 Etapas de AF
- Número de circuitos sintonía
- 5 Circuíto(s) AM
- Gama de ondas
- Bandas de recepción puestas en notas.
- Tensión de funcionamiento
- Red: Corriente alterna (CA, Inglés = AC) / 115 Volt
- Altavoz
- Altavoz electrodinámico (bobina de campo)
- Material
- Madera
- de Radiomuseum.org
- Modelo: 159 - Detrola; Detroit MI
- Forma
- Sobremesa de cualquier forma, detalles no conocidos.
- Anotaciones
- Two bands. Power supply using autotransformer.
- Ext. procedencia de los datos
- Ernst Erb
- Procedencia de los datos
- Collector's Guide to Antique Radios (6th edition)
- Referencia esquema
- Rider's Perpetual, Volume 8 = 1937 and before
- Otros modelos
-
Donde encontrará 334 modelos, 195 con imágenes y 291 con esquemas.
Ir al listado general de Detrola; Detroit (MI)
Colecciones
El modelo 159 es parte de las colecciones de los siguientes miembros.