- Pays
- Italy
- Fabricant / Marque
- Ducati, SSR (Società Scientifica Radio Brevetti Ducati); Bologna
- Année
- 1952 ??
- Catégorie
- Radio - ou tuner d'après la guerre 1939-45
- Radiomuseum.org ID
- 88765
Cliquez sur la vignette du schéma pour le demander en tant que document gratuit.
- No. de tubes
- 8
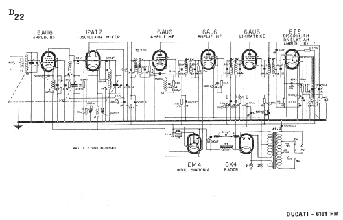
- Principe général
- Super hétérodyne avec étage HF; FI/IF 10700 kHz
- Circuits accordés
- 11 Circuits MF (FM)
- Gammes d'ondes
- FM uniquement
- Tension / type courant
- Alimentation Courant Alternatif (CA) / 110; 125; 140; 160; 220 Volt
- Haut-parleur
- - Pour casque ou amplificateur BF
- De Radiomuseum.org
- Modèle: RG6101-FM - Ducati, SSR Società
- Remarques
-
Ricevitore per FM con uscita in Bassa Frequenza, da collegare all'ingresso Fono di un qualsiasi apparecchio radio o ad un amplificatore.
- Littérature
- Schemi di apparecchi radio ( Ravalico 1953 ) (pag. 61)
- Schémathèque (1)
- Riparazioni - Scuola Radio Elettra
- Auteur
- Modèle crée par Alessandro De Poi. Voir les propositions de modification pour les contributeurs supplémentaires.
- D'autres Modèles
-
Vous pourrez trouver sous ce lien 103 modèles d'appareils, 84 avec des images et 75 avec des schémas.
Tous les appareils de Ducati, SSR (Società Scientifica Radio Brevetti Ducati); Bologna