NF-Leistungsverstärker V150-3
Funkwerk Kölleda, VEB, RFT, - vorm. Neutrowerk, Neutro-Werk (Ostd.)
- País
- Alemania
- Fabricante / Marca
- Funkwerk Kölleda, VEB, RFT, - vorm. Neutrowerk, Neutro-Werk (Ostd.)
- Año
- 1965 ??
- Categoría
- Amplificador de audio o mezclador
- Radiomuseum.org ID
- 103654
Haga clic en la miniatura esquemática para solicitarlo como documento gratuito.
- Numero de valvulas
- 8
- Principio principal
- Amplificador de Audio
- Gama de ondas
- - no hay
- Tensión de funcionamiento
- Red: Corriente alterna (CA, Inglés = AC) / 220 Volt
- Altavoz
- - Este modelo usa altavoz exterior (1 o más).
- Material
- Metálico
- de Radiomuseum.org
- Modelo: NF-Leistungsverstärker V150-3 - Funkwerk Kölleda, VEB, RFT, -
- Forma
- Chasis (tambien de autoradio)
- Anotaciones
-
NF-Leistungsverstärker in Einschubbauweise für Beschallungsanlagen.
Ein "magisches Auge" dient der Aussteuerungskontrolle.
Der elektrische Anschluss erfolgt über Messerleisten an der Rückseite.
Schaltungsart: Gegentakt-Endstufe
Fernsteuerung: Relais-schaltbare Anoden-/ Schirmgitterspannung (Bereitschaftsbetrieb)
Eingang: trafosymmetrisch
Ausgang: 50 Watt an 200 Ω (100-Volt-Technik)
- Peso neto
- 26 kg / 57 lb 4.3 oz (57.269 lb)
- Documentación / Esquemas (1)
- -- Schematic
- Autor
- Modelo creado por Wolfgang Lill. Ver en "Modificar Ficha" los participantes posteriores.
- Otros modelos
-
Donde encontrará 127 modelos, 103 con imágenes y 45 con esquemas.
Ir al listado general de Funkwerk Kölleda, VEB, RFT, - vorm. Neutrowerk, Neutro-Werk (Ostd.)
Contribuciones en el Foro acerca de este modelo: Funkwerk Kölleda,: NF-Leistungsverstärker V150-3
Hilos: 1 | Mensajes: 1
Reparaturtipps zum Leistungs- Verstärkereinschub V150 vom VEB Funkwerk Kölleda
Der Leistungsverstärker V 150 wurde in den 50er und 60er Jahren in der ehemaligen DDR gefertigt und in den verschiedensten Bererichen eingesetzt. Unter anderen war er häufig beim Schul- oder Betriebsfunk anzutreffen, aber auch auf Sportstätten, in Kinos, bei öffentlichen Veranstaltungen und auf Schiffen. ( 100 V- heute ELA-Technik im 19"-Ausführung ).
Es handelt sich um ein Verstärkereinschub-Chassis nach DIN 41490 zum Einsatz in Gestellen oder Gehäusen. Wenn, wie im vorliegenden Fall der Besitzer weder Unterlagen noch das dazugehörige Gehäuse besitzt, sollte man einige Hinweise unbedingt beachten.
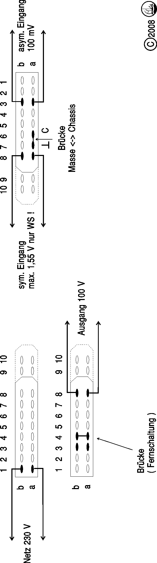
An der Frontseite befinden sich 3 doppelte Buchsen, an denen der jeweils zur Anwendung kommende Eingang mittels zweier Kurzschlußstecker durchgeschaltet wird. Die rechte Buchse ist nicht beschaltet.
An der Rückseite des Chassis befinden sich drei Messerleisten. Jeweils 16-polig in der Standard-Ausführung und 20-polig bei der Schiffsausführung. Falls keine passenden Buchsenleisten zur Hand sind, kann man sehr gut 4,8 mm-Flachsteckbuchsen benutzen oder sich mit großen Lüsterklemmen behelfen
Die Anschlüsse für die Netzspannungsversorgung, sowie Ein- und Ausgänge lassen sich auch ohne Schaltplan schnell ermitteln. Wichtig sind aber folgende Eigenheiten dieses Verstärkers.
Anschluß a4, b4 an St 2 ist für eine Fernsteuerung vorgesehen und schaltet die Anodenspannung der Endröhren. So wurde durch eine Taste am Mikrofon oder in Reichweite des Sprechers bei einer Ansage der Verstärker sofort betriebsbereit geschaltet. Heute würde man das mit " stand by - Betrieb " bezeichnen. Während eines ständigen Betriebes ( zum Beispiel als Heim-Verstäker ) sind also diese beiden
Messerkontakte zu überbrücken. Zu Meß- und Test-Zwecken sind diese offenen Kontakte eher hilfreich.
Besonders wichtig ist die Beschaltung von b6 und b7 an St 1 wenn das Chassis nicht in einem Gestell betrieben wird. Wenn das Gehäuse nicht mit dem Verdrahtungmasseanschlußpunkt verbunden ist, ertönt aus dem Lautsprecher nur ein starker Brummton oder der Verstärker beginnt sogar zu schwingen.
Der Leistungsverstärker V 150 wurde in den 50er und 60er Jahren in der ehemaligen DDR gefertigt und in den verschiedensten Bererichen eingesetzt. Unter anderen war er häufig beim Schul- oder Betriebsfunk anzutreffen, aber auch auf Sportstätten, in Kinos, bei öffentlichen Veranstaltungen und auf Schiffen. ( 100 V- heute ELA-Technik im 19"-Ausführung ).
Es handelt sich um ein Verstärkereinschub-Chassis nach DIN 41490 zum Einsatz in Gestellen oder Gehäusen. Wenn, wie im vorliegenden Fall der Besitzer weder Unterlagen noch das dazugehörige Gehäuse besitzt, sollte man einige Hinweise unbedingt beachten.
An der Frontseite befinden sich 3 doppelte Buchsen, an denen der jeweils zur Anwendung kommende Eingang mittels zweier Kurzschlußstecker durchgeschaltet wird. Die rechte Buchse ist nicht beschaltet.

An der Rückseite des Chassis befinden sich drei Messerleisten. Jeweils 16-polig in der Standard-Ausführung und 20-polig bei der Schiffsausführung. Falls keine passenden Buchsenleisten zur Hand sind, kann man sehr gut 4,8 mm-Flachsteckbuchsen benutzen oder sich mit großen Lüsterklemmen behelfen
Die Anschlüsse für die Netzspannungsversorgung, sowie Ein- und Ausgänge lassen sich auch ohne Schaltplan schnell ermitteln. Wichtig sind aber folgende Eigenheiten dieses Verstärkers.
Anschluß a4, b4 an St 2 ist für eine Fernsteuerung vorgesehen und schaltet die Anodenspannung der Endröhren. So wurde durch eine Taste am Mikrofon oder in Reichweite des Sprechers bei einer Ansage der Verstärker sofort betriebsbereit geschaltet. Heute würde man das mit " stand by - Betrieb " bezeichnen. Während eines ständigen Betriebes ( zum Beispiel als Heim-Verstäker ) sind also diese beiden
Messerkontakte zu überbrücken. Zu Meß- und Test-Zwecken sind diese offenen Kontakte eher hilfreich.
Besonders wichtig ist die Beschaltung von b6 und b7 an St 1 wenn das Chassis nicht in einem Gestell betrieben wird. Wenn das Gehäuse nicht mit dem Verdrahtungmasseanschlußpunkt verbunden ist, ertönt aus dem Lautsprecher nur ein starker Brummton oder der Verstärker beginnt sogar zu schwingen.
Anexos
- Belegung der Messerleisten (21 KB)
Uwe Ronneberger, 13.Jul.08