- País
- Gran Bretaña (GB)
- Fabricante / Marca
- Garrard Eng. & Mfg. Co. Ltd.; Swindon, England
- Año
- 1940
- Categoría
- Registrador o reproductor de sonido o visual
- Radiomuseum.org ID
- 186639
Haga clic en la miniatura esquemática para solicitarlo como documento gratuito.
- Gama de ondas
- - no hay
- Especialidades
- Tocadiscos con cambiador autom.
- Tensión de funcionamiento
- Red: Corriente alterna (CA, Inglés = AC) / 100; 130; 200; 250 Volt
- Altavoz
- - Este modelo usa amplificador externo de B.F.
- Material
- Metálico
- de Radiomuseum.org
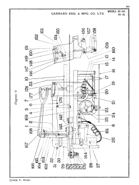
- Modelo: RC-50 - Garrard Eng. & Mfg. Co. Ltd.;
- Forma
- Chasis (tambien de autoradio)
- Ancho, altura, profundidad
- 14 x 11 x 16 inch / 356 x 279 x 406 mm
- Anotaciones
- Model RC-50 was sold by Lafayette as a chassis or included in its radio-Phone combinations.See details and summaries for the models of this Lafayette catalog no. 80, Spring-Summer 1940.
- Precio durante el primer año
- 53.00 $
- Mencionado en
- Lafayette Radio Catalog (No.80, page 27)
- Autor
- Modelo creado por Felix Schaffhauser. Ver en "Modificar Ficha" los participantes posteriores.
- Otros modelos
-
Donde encontrará 120 modelos, 112 con imágenes y 30 con esquemas.
Ir al listado general de Garrard Eng. & Mfg. Co. Ltd.; Swindon, England