- Paese
- Germania
- Produttore / Marca
- Grassmann, Peter, RFW, Radio-Funk-Werkstätten; vor 1945, Berlin & Neuhaldensleben
- Anno
- 1933–1938

- Categoria
- Radio (o sintonizzatore del dopoguerra WW2)
- Radiomuseum.org ID
- 216559
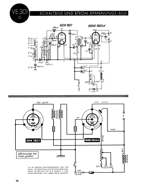
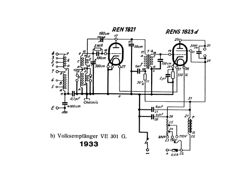
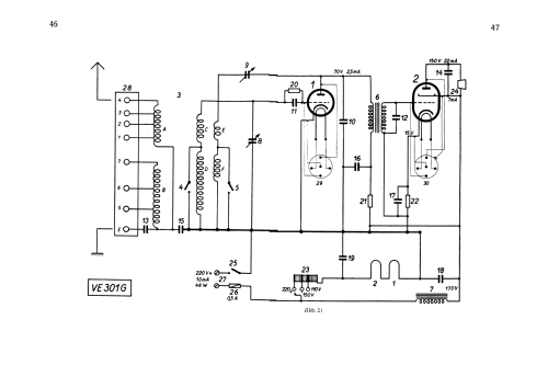
Clicca sulla miniatura dello schema per richiederlo come documento gratuito.
- Numero di tubi
- 2
- Principio generale
- A reazione (con rigenerazione); 1 Stadi BF
- N. di circuiti accordati
- 1 Circuiti Mod. Amp. (AM)
- Gamme d'onda
- Onde medie (OM) e onde lunghe (OL).
- Tensioni di funzionamento
- Alimentazione a corrente continua (CC) / 110; 150; 220 Volt
- Altoparlante
- Altoparlante magnetico (a spillo) senza sospensioni
- Materiali
- Mobile in legno
- Radiomuseum.org
- Modello: VE301G - Grassmann, Peter, RFW, Radio-
- Forma
- Soprammobile verticale (sviluppato in altezza; no cattedrale, sin decorazioni).
- Dimensioni (LxAxP)
- 295 x 393 x 175 mm / 11.6 x 15.5 x 6.9 inch
- Annotazioni
Da nur Rückwand und meist das Typenschild den Hersteller zeigen, kann nicht immer nach diesem sortiert werden. Im übrigen sind die Produkte der verschiedenen Hersteller identisch.
Eine Auflistung aller deutschen Hersteller ist hier zu finden.
- Autore
- Modello inviato da Konrad Birkner † 12.08.2014. Utilizzare "Proponi modifica" per inviare ulteriori dati.
- Altri modelli
-
In questo link sono elencati 113 modelli, di cui 78 con immagini e 30 con schemi.
Elenco delle radio e altri apparecchi della Grassmann, Peter, RFW, Radio-Funk-Werkstätten; vor 1945, Berlin & Neuhaldensleben