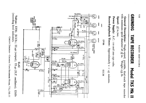
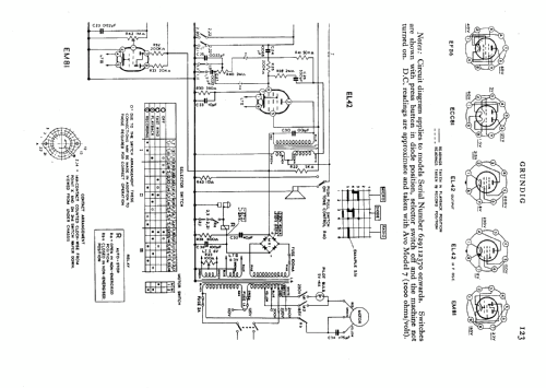
Reporter TK5 MkII
Grundig Ltd., London
- Produttore / Marca
- Grundig Ltd., London
- Anno
- 1958 ?
- Categoria
- Registratore audio/video e/o riproduttore
- Radiomuseum.org ID
- 148436
Clicca sulla miniatura dello schema per richiederlo come documento gratuito.
- Numero di tubi
- 5
- Principio generale
- Amplificatore audio
- Gamme d'onda
- - senza
- Particolarità
- Registratore a nastro
- Tensioni di funzionamento
- Alimentazione a corrente alternata (CA) / 110 / 200-250 Volt
- Altoparlante
- AP magnetodinamico (magnete permanente e bobina mobile)
- Materiali
- Pelle / stoffa / plastica ma con altro materiale sottostante
- Radiomuseum.org
- Modello: Reporter TK5 MkII - Grundig Ltd., London
- Forma
- Soprammobile basso, con andamento orizzontale (grosse dimensioni).
- Annotazioni
- Portable tape recorder, single speed (3 3/4 in/sec.)dual track, 5 3/4 inch spools. Playback time approx 2 x 45 mins. Similar to German model TK5 (EM85 instead of EM81).
- Fonte dei dati
- -- Schematic
- Riferimenti schemi
- Radio and TV Servicing books (R&TVS) book
- Autore
- Modello inviato da Keith Staines. Utilizzare "Proponi modifica" per inviare ulteriori dati.
- Altri modelli
-
In questo link sono elencati 53 modelli, di cui 42 con immagini e 28 con schemi.
Elenco delle radio e altri apparecchi della Grundig Ltd., London