- Land
- Grossbritannien (UK)
- Hersteller / Marke
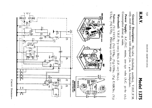
- HMV (Brand), His Masters Voice, The Gramophone Company Ltd.; Middlesex
- Jahr
- 1955 ??
- Kategorie
- Rundfunkempfänger (Radio - oder Tuner nach WW2)
- Radiomuseum.org ID
- 91206
Klicken Sie auf den Schaltplanausschnitt, um diesen kostenlos als Dokument anzufordern.
- Anzahl Röhren
- 6
- Hauptprinzip
- Superhet allgemein
- Wellenbereiche
- UKW-Gerät bzw. FM (keine weiteren Bänder).
- Betriebsart / Volt
- Allstromgerät / 200-250 Volt
- Lautsprecher
- Dynamischer LS, keine Erregerspule (permanentdynamisch) / Ø 16 cm = 6.3 inch
- Material
- Bakelit (Pressstoff)
- von Radiomuseum.org
- Modell: 1375 - HMV Brand, His Masters Voice,
- Form
- Tischmodell, Zusatz nicht bekannt - allgemein.
- Abmessungen (BHT)
- 317 x 230 x 150 mm / 12.5 x 9.1 x 5.9 inch
- Nettogewicht
- 3 kg / 6 lb 9.7 oz (6.608 lb)
- Datenherkunft
- -- Collector info (Sammler)
- Weitere Modelle
-
Hier finden Sie 429 Modelle, davon 338 mit Bildern und 244 mit Schaltbildern.
Alle gelisteten Radios usw. von HMV (Brand), His Masters Voice, The Gramophone Company Ltd.; Middlesex
Sammlungen
Das Modell befindet sich in den Sammlungen folgender Mitglieder.