Londoner 32-K4A Ch= 32-K
Kelvinator; Keswick, South Australia
- Paese
- Australia
- Produttore / Marca
- Kelvinator; Keswick, South Australia
- Anno
- 1955
- Categoria
- Radio (o sintonizzatore del dopoguerra WW2)
- Radiomuseum.org ID
- 195892
Clicca sulla miniatura dello schema per richiederlo come documento gratuito.
- Numero di tubi
- 5
- Principio generale
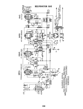
- Supereterodina (in generale); ZF/IF 457.5 kHz; 2 Stadi BF
- N. di circuiti accordati
- 6 Circuiti Mod. Amp. (AM)
- Gamme d'onda
- Onde medie (OM) e corte (OC).
- Particolarità
- Giradischi o cambiadischi
- Tensioni di funzionamento
- Alimentazione a corrente alternata (CA) / 220-225; 226-250 Volt
- Altoparlante
- AP magnetodinamico (magnete permanente e bobina mobile)
- Materiali
- Mobile in legno
- Radiomuseum.org
- Modello: Londoner 32-K4A Ch= 32-K - Kelvinator; Keswick, South
- Forma
- Console di qualsiasi tipo
- Annotazioni
-
Radiogram with Collaro RC54 3-speed automatic changer. Rebadged version of HMV Intermezzo 32-4A.
The standard configuration was a 6M5 pentode with a 6AV6 preamp stage; a variant has two 6M5 pentodes in push-pull configuration, and a 12AX7 preamp stage, with a larger 12 inch loudspeaker.
Cabinet finishes in Walnut & Rosewood.
- Prezzo nel primo anno
- 122.85 AUS £
- Riferimenti schemi
- Australian Official Radio Service Manual Vol. XIV
- Autore
- Modello inviato da Stuart Irwin. Utilizzare "Proponi modifica" per inviare ulteriori dati.
- Altri modelli
-
In questo link sono elencati 46 modelli, di cui 26 con immagini e 17 con schemi.
Elenco delle radio e altri apparecchi della Kelvinator; Keswick, South Australia
Collezioni
Il modello Londoner fa parte delle collezioni dei seguenti membri.