Tenor 83-64-609
Krefft AG, W.; Gevelsberg (Westfalen): Weltfunk
- Hersteller / Marke
- Krefft AG, W.; Gevelsberg (Westfalen): Weltfunk
- Jahr
- 1949/1950
- Kategorie
- Rundfunkempfänger (Radio - oder Tuner nach WW2)
- Radiomuseum.org ID
- 15534
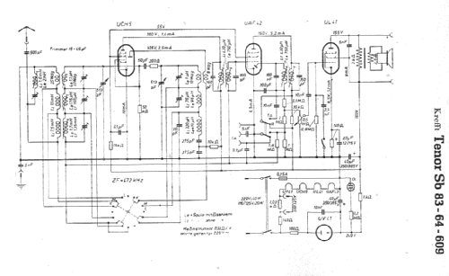
Klicken Sie auf den Schaltplanausschnitt, um diesen kostenlos als Dokument anzufordern.
- Anzahl Röhren
- 4
- Hauptprinzip
- Superhet allgemein; ZF/IF 472 kHz
- Anzahl Kreise
- 6 Kreis(e) AM
- Wellenbereiche
- Langwelle, Mittelwelle und Kurzwelle.
- Betriebsart / Volt
- Allstromgerät / 110,125,220 Volt
- Lautsprecher
- -Lautsprecher eingebaut, aber System nicht erfasst.
- Material
- Gerät mit Holzgehäuse
Die GFGF Zeitschrift Funkgeschichte bringt interessante Artikel zu Radios, Funkwesen und Medien. Bei Radiomuseum.org finden Sie die vollständigen Hefte früherer Ausgaben als PDF zum Download.
- von Radiomuseum.org
- Modell: Tenor 83-64-609 - Krefft AG, W.; Gevelsberg
- Form
- Tischmodell, Zusatz nicht bekannt - allgemein.
- Bemerkung
- Vorsicht! Keine Netztrennung!
- Datenherkunft extern
- E. Erb 3-907007-36-0
- Datenherkunft
- Radiokatalog Band 2, Ernst Erb
- Literaturnachweis
- Funkschau (4914)
- Weitere Modelle
-
Hier finden Sie 125 Modelle, davon 84 mit Bildern und 81 mit Schaltbildern.
Alle gelisteten Radios usw. von Krefft AG, W.; Gevelsberg (Westfalen): Weltfunk