Ratsherr GW
Loewe-(Opta); Deutschland
- Paese
- Germania
- Produttore / Marca
- Loewe-(Opta); Deutschland
- Anno
- 1934/1935
- Categoria
- Radio (o sintonizzatore del dopoguerra WW2)
- Radiomuseum.org ID
- 2616
-
- alternative name: Löwe Radio
Clicca sulla miniatura dello schema per richiederlo come documento gratuito.
- Numero di tubi
- 2
- Principio generale
- A reazione (con rigenerazione); 1 Stadi BF
- N. di circuiti accordati
- 1 Circuiti Mod. Amp. (AM)
- Gamme d'onda
- Onde medie (OM) e onde lunghe (OL).
- Tensioni di funzionamento
- Alimentazione universale (doppia: CC/CA) / 110; 127; 220; 240 Volt
- Altoparlante
- AP magnetodinamico (magnete permanente e bobina mobile)
- Materiali
- Bachelite
- Radiomuseum.org
- Modello: Ratsherr GW - Loewe-Opta; Deutschland
- Forma
- Soprammobile basso, con andamento orizzontale (grosse dimensioni).
- Dimensioni (LxAxP)
- 420 x 340 x 310 mm / 16.5 x 13.4 x 12.2 inch
- Prezzo nel primo anno
- 175.00 RM
- Fonte dei dati
- Radio-Katalog Fricke, Radio Groß-Vertrieb, 1934/35 / Radiokatalog Band 1, Ernst Erb
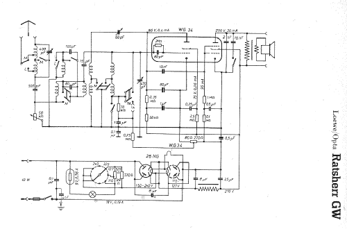
- Riferimenti schemi
- Lange + Schenk (?)
- Bibliografia
- Radio-Katalog, Mix & Genest Hansawerke, 1935
- Bibliografia immagini
- Das Modell ist im «Radiokatalog» (Erb) abgebildet.
- Altri modelli
-
In questo link sono elencati 1645 modelli, di cui 1382 con immagini e 1188 con schemi.
Elenco delle radio e altri apparecchi della Loewe-(Opta); Deutschland
Collezioni
Il modello Ratsherr fa parte delle collezioni dei seguenti membri.