Frequenzprüfgerät f - Frequenzprüfer
Militär (verschiedene Hersteller gleicher Modelle)
- Paese
- Germania
- Produttore / Marca
- Militär (verschiedene Hersteller gleicher Modelle)
- Anno
- 1944 ?
- Categoria
- Strumento da laboratorio
- Radiomuseum.org ID
- 355107
-
- alternative name: WEHRMACHT
Clicca sulla miniatura dello schema per richiederlo come documento gratuito.
- Numero di tubi
- 1
- Valvole
- RL2,4T1
- Tensioni di funzionamento
- Batteria di accumulatori, per tutto (es. autoradio, radio amatoriali) / NiCd: 2,4 Volt
- Altoparlante
- - - Nessuna uscita audio.
- Materiali
- Speciale materiale, descritti nelle note.
- Radiomuseum.org
- Modello: Frequenzprüfgerät f - Frequenzprüfer - Militär verschiedene
- Forma
- Diverse forme (descritte nelle note).
- Annotazioni
-
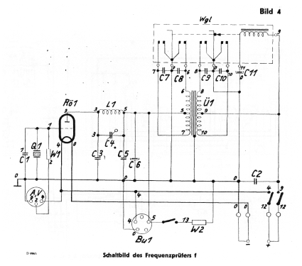
Das Frequenzprüfgerät f ist ein quarzgesteuerter kleiner Sender, der aus einem Sammler 2,4 NC 28 gespeist wird. Er dient als Frequenznormal für die Frequenzkontrolle der Feldfunksprecher b1 und c. Das Gerät besteht aus einem Oszillatorteil und dem Stromversorgungsteil. Auswechselbarer Quarz von 26 MHz.
Aufbau: Kasten aus Preßstoff mit Tragschlaufe, 2 Einhängevorrichtungen und 2 Haken für Koppeltragegestell sowie 2 Führungsschienen für Rückenstütze a. Er enthält den eigentlichen Frequenzprüfer und dient ausserdem zur Aufnahme des eigentlichen Zubehörs und von Vorratsteilen für die Feldfunksprecher b1 und c. Auf der Oberseite des Kastens befinden sich 3 gelbe Fühlmarken, um das Gerät auch bei Dunkelheit durch Tasten zu erkennen.
- Letteratura / Schemi (2)
- -- Original-techn. papers.
- Autore
- Modello inviato da Vorarlberger Museumswelt Museum. Utilizzare "Proponi modifica" per inviare ulteriori dati.
- Altri modelli
-
In questo link sono elencati 206 modelli, di cui 162 con immagini e 67 con schemi.
Elenco delle radio e altri apparecchi della Militär (verschiedene Hersteller gleicher Modelle)