- País
- Estados Unidos
- Fabricante / Marca
- Mission Bell Radio Mfg. Co.; Los Angeles (CA)
- Año
- 1937
- Categoría
- Autoradio
- Radiomuseum.org ID
- 47367
Haga clic en la miniatura esquemática para solicitarlo como documento gratuito.
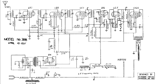
- Numero de valvulas
- 7
- Principio principal
- Superheterodino con paso previo de RF; ZF/IF 262.5 kHz; 2 Etapas de AF
- Número de circuitos sintonía
- 6 Circuíto(s) AM
- Gama de ondas
- OM (onda media) solamente
- Tensión de funcionamiento
- Bateria recargable / 6 Volt
- Altavoz
- Altavoz electrodinámico (bobina de campo)
- de Radiomuseum.org
- Modelo: 3820 - Mission Bell Radio Mfg. Co.;
- Anotaciones
- Built-in vibrator for B+
- Ext. procedencia de los datos
- Ernst Erb
- Referencia esquema
- Rider's Perpetual, Volume 13 = 1942 and before
- Otros modelos
-
Donde encontrará 80 modelos, 17 con imágenes y 61 con esquemas.
Ir al listado general de Mission Bell Radio Mfg. Co.; Los Angeles (CA)