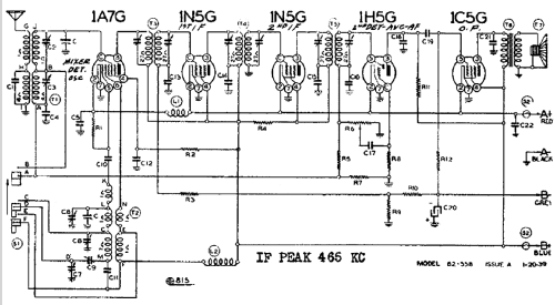
62-558 Series A Issue A
Montgomery Ward & Co. (Wards, Airline); Chicago, IL
- Country
- United States of America (USA)
- Manufacturer / Brand
- Montgomery Ward & Co. (Wards, Airline); Chicago, IL
- Year
- 1939
- Category
- Broadcast Receiver - or past WW2 Tuner
- Radiomuseum.org ID
- 48161
-
- Brand: Airline or Air-Line
Click on the schematic thumbnail to request the schematic as a free document.
- Number of Tubes
- 5
- Main principle
- Superheterodyne (common); ZF/IF 465 kHz; 2 AF stage(s)
- Tuned circuits
- 8 AM circuit(s)
- Wave bands
- Broadcast and Short Wave (SW).
- Power type and voltage
- Storage and/or dry batteries
- Loudspeaker
- Permanent Magnet Dynamic (PDyn) Loudspeaker (moving coil) / Ø 6 inch = 15.2 cm
- Power out
- 0.15 W (unknown quality)
- from Radiomuseum.org
- Model: 62-558 Series A [Issue A] - Montgomery Ward & Co. Wards,
- Notes
- BC (530-1730 kHz) and SW (5.7-18.1 MHz) bands. 6 station pushbuttons for BC band.
- External source of data
- Ernst Erb
- Circuit diagram reference
- Rider's Perpetual, Volume 10 = 1939 and before
- Mentioned in
- Rider's 10-4, 10-26, 10-32
- Other Models
-
Here you find 2338 models, 1472 with images and 1834 with schematics for wireless sets etc. In French: TSF for Télégraphie sans fil.
All listed radios etc. from Montgomery Ward & Co. (Wards, Airline); Chicago, IL