52R15 Ch= HS-289
Motorola Inc. (ex Galvin Mfg.Co. Chicago); Schaumburg (IL)
- Produttore / Marca
- Motorola Inc. (ex Galvin Mfg.Co. Chicago); Schaumburg (IL)
- Anno
- 1952/1952 ?
- Categoria
- Radio (o sintonizzatore del dopoguerra WW2)
- Radiomuseum.org ID
- 48889
Clicca sulla miniatura dello schema per richiederlo come documento gratuito.
- Numero di tubi
- 5
- Principio generale
- Supereterodina (in generale); ZF/IF 455 kHz; 2 Stadi BF
- N. di circuiti accordati
- 6 Circuiti Mod. Amp. (AM)
- Gamme d'onda
- Solo onde medie (OM).
- Tensioni di funzionamento
- Alimentazione universale (doppia: CC/CA) / AC/DC 117V =110-120 Volt
- Altoparlante
- AP magnetodinamico (magnete permanente e bobina mobile) / Ø 4 inch = 10.2 cm
- Materiali
- Plastica (non bachelite o catalina)
- Radiomuseum.org
- Modello: 52R15 Ch= HS-289 - Motorola Inc. ex Galvin Mfg.Co
- Forma
- Soprammobile compatto/con bordi arrotondati/midget senza pulsantiera/tastiera.<= 35 cm (Sometimes with handle but for mains only).
- Dimensioni (LxAxP)
- 9.3125 x 5.875 x 4.875 inch / 237 x 149 x 124 mm
- Annotazioni
-
Motorola model 52R15 is an AC/DC operated AM superheterodyne receiver of printed circuit design. Color= Green. The Motorola models 52R are available in different colors: model 52R12 in Ivory, model 52R13 in Maroon, model 52R14 in Gray, model 52R15 in Green, model 52R16 in Red and model 52R11 in Walnut.
- Fonte esterna dei dati
- Ernst Erb
- Fonte dei dati
- The Radio Collector's Directory and Price Guide 1921 - 1965
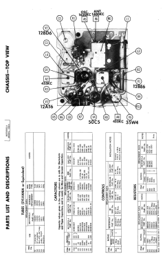
- Riferimenti schemi
- Beitman Radio Diagrams Vol. 13, 1953
- Letteratura / Schemi (1)
- Rider's Perpetual, Volume 23 (last) = covering up to 1954
- Letteratura / Schemi (2)
- Photofact Folder, Howard W. SAMS (Set 188, folder 11, dated 12-52)
- Letteratura / Schemi (3)
- Motorola Folder No. 3201 and 3301 for 1952.
- Altri modelli
-
In questo link sono elencati 4653 modelli, di cui 2980 con immagini e 4153 con schemi.
Elenco delle radio e altri apparecchi della Motorola Inc. (ex Galvin Mfg.Co. Chicago); Schaumburg (IL)