Tone Keyer 102 1
Northern Radio Co.; New York
- Produttore / Marca
- Northern Radio Co.; New York
- Anno
- 1951
- Categoria
- Altro apparecchio amatoriale (ma non tasto Morse)
- Radiomuseum.org ID
- 119247
Clicca sulla miniatura dello schema per richiederlo come documento gratuito.
- Numero di tubi
- 7
- Gamme d'onda
- - senza
- Tensioni di funzionamento
- Alimentazione a corrente alternata (CA) / 110; 220 Volt
- Altoparlante
- - Per cuffie o amplificatori esterni
- Materiali
- Mobile di metallo
- Radiomuseum.org
- Modello: Tone Keyer 102 [1] - Northern Radio Co.; New York
- Forma
- Chassis o in scatola da montaggio
- Dimensioni (LxAxP)
- 19 x 3.5 x 13.5 inch / 483 x 89 x 343 mm
- Annotazioni
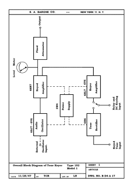
- Used in communication systems for remote keying of a radio transmitter, or teleprinter machine. The intelligence pulses amplitude modulate any one of six audio tones (425, 765, 1105, 1445, 1785 or 2125 cycles), 2,5" AC Voltmeter.
- Fonte dei dati
- -- Collector info (Sammler)
- Letteratura / Schemi (1)
- -- Schematic
- Autore
- Modello inviato da un iscritto da A. Utilizzare "Proponi modifica" per inviare ulteriori dati.
- Altri modelli
-
In questo link sono elencati 30 modelli, di cui 3 con immagini e 27 con schemi.
Elenco delle radio e altri apparecchi della Northern Radio Co.; New York