- Land
- USA
- Hersteller / Marke
- Philco, Philadelphia Stg. Batt. Co.; USA
- Jahr
- 1940/1941
- Kategorie
- Rundfunkempfänger (Radio - oder Tuner nach WW2)
- Radiomuseum.org ID
- 50766
Klicken Sie auf den Schaltplanausschnitt, um diesen kostenlos als Dokument anzufordern.
- Anzahl Röhren
- 5
- Hauptprinzip
- Superhet allgemein; ZF/IF 455 kHz
- Anzahl Kreise
- 6 Kreis(e) AM
- Wellenbereiche
- Mittelwelle, keine anderen.
- Betriebsart / Volt
- Trockenbatterien / 90 & 1.5 Volt
- Lautsprecher
- Dynamischer LS, keine Erregerspule (permanentdynamisch) / Ø 13 cm = 5.1 inch
- Material
- Gerät mit Holzgehäuse
- von Radiomuseum.org
- Modell: 41-95T - Philco, Philadelphia Stg. Batt
- Form
- Tischmodell, Zusatz nicht bekannt - allgemein.
- Abmessungen (BHT)
- 450 x 260 x 240 mm / 17.7 x 10.2 x 9.4 inch
- Bemerkung
- The Philco 41-95 series includes a table model 41-95T with code 121 chassis and a console model 41-95F with code 122 chassis. The two chassis are similar except for speaker.
- Originalpreis
- 25.00 $
- Datenherkunft extern
- Ernst Erb
- Datenherkunft
- Collector's Guide to Antique Radios 4. Edition
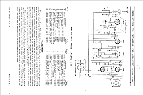
- Schaltungsnachweis
- Rider's Perpetual, Volume 13 = 1942 and before
- Literaturnachweis
- The Radio Collector's Directory and Price Guide 1921 - 1965 (Mallory Radio Service Encyclopedia (4th Edition))
- Literatur/Schema (1)
- Philco 1941 RMS Year Book
- Weitere Modelle
-
Hier finden Sie 4120 Modelle, davon 2227 mit Bildern und 3768 mit Schaltbildern.
Alle gelisteten Radios usw. von Philco, Philadelphia Stg. Batt. Co.; USA
Sammlungen
Das Modell 41-95T befindet sich in den Sammlungen folgender Mitglieder.