UH4682SW Ch= 10L41U
Philco, Philadelphia Stg. Batt. Co.; USA
- Produttore / Marca
- Philco, Philadelphia Stg. Batt. Co.; USA
- Anno
- 1959
- Categoria
- Televisore (TV) / Monitor
- Radiomuseum.org ID
- 213618
Clicca sulla miniatura dello schema per richiederlo come documento gratuito.
- Numero di tubi
- 17
- Valvole
- 6X8 6BC8 6AF4A or 6AF4B 6AM8A or 6AM8 6DE6 6DE6 6BQ5 6DR7 6CS6 6U8 or 6U8A or 6EA8 6CG7 6AW8A 6DA4 6DQ6A 1G3GT 5U4GB 21EVP4
- Principio generale
- Supereterodina con stadio RF
- Gamme d'onda
- VHF/UHF (ved. i dettagli nelle note)
- Tensioni di funzionamento
- Alimentazione a corrente alternata (CA) / 105-120 Volt
- Altoparlante
- AP magnetodinamico ellittico (magnete permanente e bobina mobile).
- Materiali
- Mobile in legno
- Radiomuseum.org
- Modello: UH4682SW Ch= 10L41U - Philco, Philadelphia Stg. Batt
- Forma
- Console di qualsiasi tipo
- Annotazioni
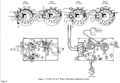
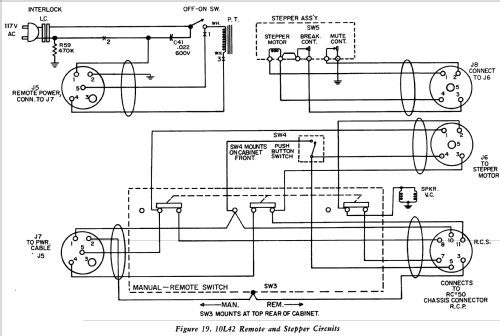
- The Philco UH4682SW is a 21" b/w TV with US standard VHF tuner channels 2 thru 13, 14 thru 83 UHF. Equipped with chassis 10L41U, VHF tuner T-101E, UHF tuner T-28D and picture tube 21EVP4. Uses 4" x 6" Elliptical PM speaker.
- Fonte dei dati
- - - Manufacturers Literature
- Letteratura / Schemi (1)
- Photofact Folder, Howard W. SAMS (Date 12-59, Set 466, Folder 1)
- Autore
- Modello inviato da John Kusching. Utilizzare "Proponi modifica" per inviare ulteriori dati.
- Altri modelli
-
In questo link sono elencati 4120 modelli, di cui 2227 con immagini e 3768 con schemi.
Elenco delle radio e altri apparecchi della Philco, Philadelphia Stg. Batt. Co.; USA