- Pays
- Espagne
- Fabricant / Marque
- Philips Ibérica, COPRESA, Compañía de Productos Electrónicos, Miniwatt tubes, SELEZ; Madrid, Barcelona
- Année
- 1959
- Catégorie
- Radio - ou tuner d'après la guerre 1939-45
- Radiomuseum.org ID
- 100103
Cliquez sur la vignette du schéma pour le demander en tant que document gratuit.
- No. de tubes
- 5
- Principe général
- Super hétérodyne (en général); FI/IF 470 kHz; 2 Etage(s) BF
- Circuits accordés
- 6 Circuits MA (AM)
- Gammes d'ondes
- PO et OC
- Particularités
- Tourne disque sans changeur
- Tension / type courant
- Alimentation Courant Alternatif (CA) / 110-127 Volt
- Haut-parleur
- HP dynamique à aimant permanent + bobine mobile
- Matière
- Cuir / canvas / plastique mais autre matériel en dessous!
- De Radiomuseum.org
- Modèle: H4E94A - Philips Ibérica, COPRESA,
- Forme
- Modèle de table sans poussoirs, modèle cheminée
- Dimensions (LHP)
- 328 x 184 x 348 mm / 12.9 x 7.2 x 13.7 inch
- Prix de mise sur le marché
- 4,995.15 pesetas
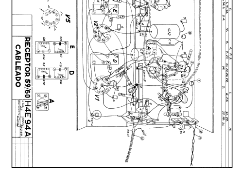
- Schémathèque (1)
- -- Original-techn. papers.
- Auteur
- Modèle crée par Miguel Bravo-Cos. Voir les propositions de modification pour les contributeurs supplémentaires.
- D'autres Modèles
-
Vous pourrez trouver sous ce lien 638 modèles d'appareils, 532 avec des images et 469 avec des schémas.
Tous les appareils de Philips Ibérica, COPRESA, Compañía de Productos Electrónicos, Miniwatt tubes, SELEZ; Madrid, Barcelona
Collections
Le modèle fait partie des collections des membres suivants.