Vacuum-Tube Volt Ohmmeggor Insulation Tester 665
Radio City Products Company, Inc.(RCP); New York, NY and Easton, PA
- Country
- United States of America (USA)
- Manufacturer / Brand
- Radio City Products Company, Inc.(RCP); New York, NY and Easton, PA
- Year
- 1944
- Category
- Service- or Lab Equipment
- Radiomuseum.org ID
- 357028
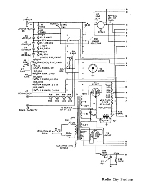
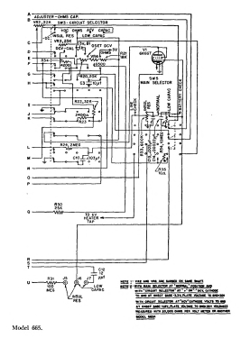
Click on the schematic thumbnail to request the schematic as a free document.
- Number of Tubes
- 3
- Wave bands
- - without
- Power type and voltage
- Alternating Current supply (AC) / 105-130 Volt
- Loudspeaker
- - - No sound reproduction output.
- Material
- Metal case
- from Radiomuseum.org
- Model: Vacuum-Tube Volt Ohmmeggor Insulation Tester 665 - Radio City Products Company,
- Shape
- Tablemodel, with any shape - general.
- Notes
-
3 (2x1.5) V Dry Cell for Resistance Measurement Range.
- Mentioned in
- Vacuum-Tube Voltmeters, John F. Rider, 2nd Edition, 1951
- Literature/Schematics (1)
- -- Original prospect or advert (Radio magazine, May 1944, page 54, "New Products...Model 665")
- Author
- Model page created by Wolfgang Müllner. See "Data change" for further contributors.
- Other Models
-
Here you find 79 models, 70 with images and 14 with schematics for wireless sets etc. In French: TSF for Télégraphie sans fil.
All listed radios etc. from Radio City Products Company, Inc.(RCP); New York, NY and Easton, PA