Verstärkerbaustein 2 Watt NF1000-III
RIM bzw. Radio-RIM; München
- País
- Alemania
- Fabricante / Marca
- RIM bzw. Radio-RIM; München
- Año
- 1972
- Categoría
- Amplificador de audio o mezclador
- Radiomuseum.org ID
- 256357
-
- Brand: Radiola-Industrie GmbH
Haga clic en la miniatura esquemática para solicitarlo como documento gratuito.
- Numero de transistores
- 4
- Principio principal
- Amplificador de Audio
- Gama de ondas
- - no hay
- Tensión de funcionamiento
- Alimentado desde otro equipo o aparato principal. / DC: 12,5 Volt
- Altavoz
- - Este modelo usa altavoz exterior (1 o más).
- Potencia de salida
- 2 W (max.)
- Material
- Printed Circuit Board
- de Radiomuseum.org
- Modelo: Verstärkerbaustein 2 Watt NF1000-III - RIM bzw. Radio-RIM; München
- Forma
- Chasis (tambien de autoradio)
- Ancho, altura, profundidad
- 70 x 55 x 40 mm / 2.8 x 2.2 x 1.6 inch
- Anotaciones
-
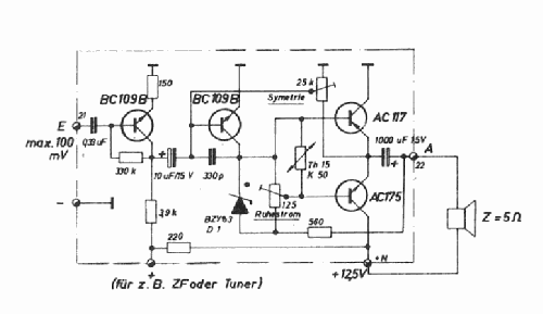
Kleiner NF-Verstärker, 2 W-Verstärker, Hersteller Radio Rim, München
Eisenloser Niederfrequenz-Verstärker NF 1000-III; mit einer max. Ausgangsleistung von 2 Watt an 5 Ω, Bestückt mit 4 Transistoren und einer Zenerdiode,sowie einem NTC-Widerstand.
Aufgebaut auf einer Pertinax-Platine mit den Maßen 70 x 55 x 40 mm. Frequenzbereich 50 - 15000 Hz. Empfindlichkeit 100 mV/ 10 kΩ, Betriebsspannung 12,5 V, Ruhestrom 25 mA, Strom bei Vollaussteuerung max. 250 mA.
- Peso neto
- 0.060 kg / 0 lb 2.1 oz (0.132 lb)
- Mencionado en
- - - Manufacturers Literature (RIM -Jahrbuch 1972, Seite 24)
- Autor
- Modelo creado por Reinhard Keins. Ver en "Modificar Ficha" los participantes posteriores.
- Otros modelos
-
Donde encontrará 313 modelos, 299 con imágenes y 243 con esquemas.
Ir al listado general de RIM bzw. Radio-RIM; München