Rogers 15/86A Ch= 10RA861
Rogers-Majestic, Standard Radio Manufacturing, Rogers Radio Tubes; Toronto
- País
- Canada
- Fabricante / Marca
- Rogers-Majestic, Standard Radio Manufacturing, Rogers Radio Tubes; Toronto
- Año
- 1941/1942 ?
- Categoría
- Radio - o Sintonizador pasado WW2
- Radiomuseum.org ID
- 299785
-
- alternative name: Rogers Radio Tube
Haga clic en la miniatura esquemática para solicitarlo como documento gratuito.
- Numero de valvulas
- 8
- Principio principal
- Superheterodino con paso previo de RF; ZF/IF 456 kHz; 2 Etapas de AF
- Número de circuitos sintonía
- 7 Circuíto(s) AM
- Gama de ondas
- OM y más de dos OC
- Tensión de funcionamiento
- Red: Corriente alterna (CA, Inglés = AC) / 117 Volt
- Altavoz
- Altavoz electrodinámico (bobina de campo)
- de Radiomuseum.org
- Modelo: Rogers 15/86A Ch= 10RA861 - Rogers-Majestic, Standard
- Anotaciones
-
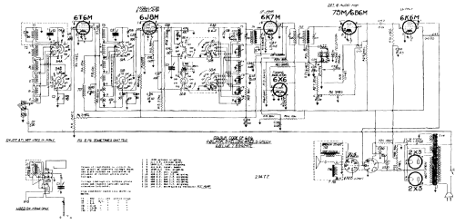
The Rogers model 15/86A is an 8-tube radio for BC and SW reception. Has tuning eye tube. Same schematic and as the Majestic 4186A and Deforest A68/41.
- Documentación / Esquemas (1)
- - - Manufacturers Literature (Rogers service manual Vol 3 P. 169)
- Autor
- Modelo creado por Tom Seeger. Ver en "Modificar Ficha" los participantes posteriores.
- Otros modelos
-
Donde encontrará 555 modelos, 235 con imágenes y 506 con esquemas.
Ir al listado general de Rogers-Majestic, Standard Radio Manufacturing, Rogers Radio Tubes; Toronto