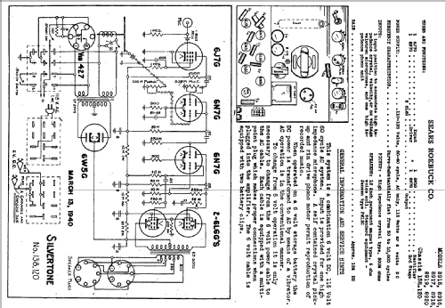
Silvertone 8917 Ch= 138.120
Sears, Roebuck & Co.; Chicago (IL)
- País
- Estados Unidos
- Fabricante / Marca
- Sears, Roebuck & Co.; Chicago (IL)
- Año
- 1940
- Categoría
- Amplificador de audio o mezclador
- Radiomuseum.org ID
- 57249
-
- Brand: Silvertone
Haga clic en la miniatura esquemática para solicitarlo como documento gratuito.
- Numero de valvulas
- 6
- Gama de ondas
- - no hay
- Tensión de funcionamiento
- Red / Baterías o pilas / 115V AC / 6 Volt
- Altavoz
- Altavoz dinámico (de imán permanente) / Ø 12 inch = 30.5 cm
- de Radiomuseum.org
- Modelo: Silvertone 8917 Ch= 138.120 - Sears, Roebuck & Co.; Chicago
- Anotaciones
- Vibrator for +B in case of storage battery supply.
- Ext. procedencia de los datos
- Ernst Erb
- Referencia esquema
- Rider's Perpetual, Volume 14 = 1944 = before 1943
- Documentación / Esquemas (1)
- Riders 14-81
- Otros modelos
-
Donde encontrará 5527 modelos, 3234 con imágenes y 4235 con esquemas.
Ir al listado general de Sears, Roebuck & Co.; Chicago (IL)