Netzanschlussgerät RZ1905
Siemens (& Halske, -Schuckert Werke SSW, Electrogeräte); Berlin, München
- Country
- Germany
- Manufacturer / Brand
- Siemens (& Halske, -Schuckert Werke SSW, Electrogeräte); Berlin, München
- Year
- 1972 ??
- Category
- Power supply/conditioner or battery or charger
- Radiomuseum.org ID
- 117045
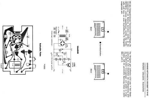
Click on the schematic thumbnail to request the schematic as a free document.
- Number of Transistors
- 1
- Semiconductors
- AD161
- Wave bands
- - without
- Power type and voltage
- Alternating Current supply (AC) / 220 Volt
- Loudspeaker
- - - No sound reproduction output.
- from Radiomuseum.org
- Model: Netzanschlussgerät RZ1905 - Siemens & Halske, -Schuckert
- Notes
- Ausgangsspannung: 6···7,5 V und 9 V. Längsregler mit AD161B.
- Literature/Schematics (1)
- -- Schematic
- Author
- Model page created by Pius Steiner. See "Data change" for further contributors.
- Other Models
-
Here you find 2543 models, 2154 with images and 1347 with schematics for wireless sets etc. In French: TSF for Télégraphie sans fil.
All listed radios etc. from Siemens (& Halske, -Schuckert Werke SSW, Electrogeräte); Berlin, München