Szuper 41 U 3040
Standard; Budapest
- Land
- Ungarn
- Hersteller / Marke
- Standard; Budapest
- Jahr
- 1941
- Kategorie
- Rundfunkempfänger (Radio - oder Tuner nach WW2)
- Radiomuseum.org ID
- 98147
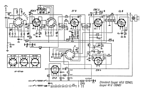
Klicken Sie auf den Schaltplanausschnitt, um diesen kostenlos als Dokument anzufordern.
- Anzahl Röhren
- 6
- Hauptprinzip
- Superhet allgemein; ZF/IF 127 kHz
- Anzahl Kreise
- 6 Kreis(e) AM
- Wellenbereiche
- Langwelle, Mittelwelle und Kurzwelle.
- Betriebsart / Volt
- Allstromgerät / 110, 150, 220 Volt
- Lautsprecher
- Dynamischer LS, Prinzip (Edyn oder Pdyn) nicht gegeben.
- Material
- Gerät mit Holzgehäuse
- von Radiomuseum.org
- Modell: Szuper 41 U 3040 - Standard; Budapest
- Form
- Tischmodell, Zusatz nicht bekannt - allgemein.
- Abmessungen (BHT)
- 560 x 380 x 290 mm / 22 x 15 x 11.4 inch
- Nettogewicht
- 7.2 kg / 15 lb 13.7 oz (15.859 lb)
- Originalpreis
- 380.00 pengö
- Literaturnachweis
- Rádiókészülékek Kapcsolásai 1936-56
- Autor
- Modellseite von Folkert Rothe angelegt. Siehe bei "Änderungsvorschlag" für weitere Mitarbeit.
- Weitere Modelle
-
Hier finden Sie 156 Modelle, davon 147 mit Bildern und 88 mit Schaltbildern.
Alle gelisteten Radios usw. von Standard; Budapest
Sammlungen
Das Modell Szuper 41 U befindet sich in den Sammlungen folgender Mitglieder.