- Hersteller / Marke
- Telefunken Deutschland (TFK), (Gesellschaft für drahtlose Telegraphie Telefunken mbH
- Jahr
- 1926–1928
- Kategorie
- Rundfunkempfänger (Radio - oder Tuner nach WW2)
- Radiomuseum.org ID
- 4544
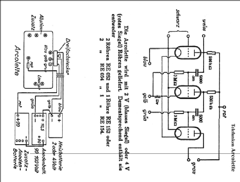
Klicken Sie auf den Schaltplanausschnitt, um diesen kostenlos als Dokument anzufordern.
- Anzahl Röhren
- 3
- Hauptprinzip
- Geradeaus oder Audion mit Rückkopplung; 2 NF-Stufe(n)
- Anzahl Kreise
- 1 Kreis(e) AM
- Wellenbereiche
- Langwelle, Mittelwelle (LW+MW).
- Betriebsart / Volt
- Akku und/oder Batterie / 90+4 Volt
- Lautsprecher
- - Für Kopfhörer oder NF-Verstärker
- Material
- Metallausführung
Die GFGF Zeitschrift Funkgeschichte bringt interessante Artikel zu Radios, Funkwesen und Medien. Bei Radiomuseum.org finden Sie die vollständigen Hefte früherer Ausgaben als PDF zum Download.
- von Radiomuseum.org
- Modell: Arcolette var 1 - Telefunken Deutschland TFK,
- Abmessungen (BHT)
- 120 x 170 x 179 mm / 4.7 x 6.7 x 7 inch
- Bemerkung
- mit Variometeraufsatz (Abstimmzusatz)
- Nettogewicht
- 0.6 kg / 1 lb 5.1 oz (1.322 lb)
- Originalpreis
- 40.00 RM !
- Datenherkunft
- Katalog Radio-Zentrale Prohaska 1928 / Radiokatalog Band 1, Ernst Erb
- Literaturnachweis
- Döring-Film-Werke 1927
- Bildnachweis
- Eine Abbildung findet sich im Doppelband "Radios von gestern"
- Weitere Modelle
-
Hier finden Sie 3580 Modelle, davon 3167 mit Bildern und 2126 mit Schaltbildern.
Alle gelisteten Radios usw. von Telefunken Deutschland (TFK), (Gesellschaft für drahtlose Telegraphie Telefunken mbH
Sammlungen
Das Modell Arcolette befindet sich in den Sammlungen folgender Mitglieder.