Deutscher Kleinempfänger für Batteriebetrieb DKE38B Exportmodell ohne Reichsadler
Telefunken Deutschland (TFK), (Gesellschaft für drahtlose Telegraphie Telefunken mbH
- Country
- Germany
- Manufacturer / Brand
- Telefunken Deutschland (TFK), (Gesellschaft für drahtlose Telegraphie Telefunken mbH
- Year
- 1938
- Category
- Broadcast Receiver - or past WW2 Tuner
- Radiomuseum.org ID
- 279824
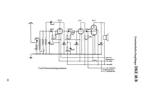
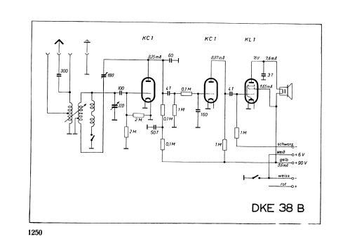
Click on the schematic thumbnail to request the schematic as a free document.
- Number of Tubes
- 3
- Main principle
- TRF with regeneration; 2 AF stage(s); Export model
- Tuned circuits
- 1 AM circuit(s)
- Wave bands
- Broadcast (MW) and Long Wave.
- Power type and voltage
- Storage and/or dry batteries / 90 & 6 & 2 Volt
- Loudspeaker
- Magnetic loudspeaker (reed) of high quality (free mooving - only possible past 1931).
- Material
- Bakelite case
- from Radiomuseum.org
- Model: Deutscher Kleinempfänger für Batteriebetrieb DKE38B [Exportmodell ohne Reichsadler] - Telefunken Deutschland TFK,
- Shape
- Tablemodel without push buttons, Mantel/Midget/Compact up to 14
- Dimensions (WHD)
- 240 x 240 x 120 mm / 9.4 x 9.4 x 4.7 inch
- Notes
-
Exportmodell mit der Kennung "Deutscher Kleinempfänger 1938 für Batteriebetrieb" auf der Rückwand und "Telefunken App. Nr. 157043" im Inneren. Auch die Röhren tragen Telefunken Banderolen mit (Prod.?) Nummern.
Alle Reichsadler Kennzeichnungen wurden entfernt (ausgeschliffen oder überpinselt) und anstelle des Zeichens an der Front ein Telefunken Emblem angebracht.
Importmarke für Schweden, aber alle Beschriftungen auf Deutsch.
- Net weight (2.2 lb = 1 kg)
- 1.6 kg / 3 lb 8.4 oz (3.524 lb)
- Author
- Model page created by Peter Kahlich. See "Data change" for further contributors.
- Other Models
-
Here you find 3581 models, 3168 with images and 2126 with schematics for wireless sets etc. In French: TSF for Télégraphie sans fil.
All listed radios etc. from Telefunken Deutschland (TFK), (Gesellschaft für drahtlose Telegraphie Telefunken mbH
Collections
The model Deutscher Kleinempfänger für Batteriebetrieb is part of the collections of the following members.