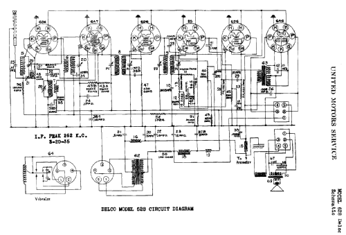
Delco 628
United Motors Service (Delco)
- Produttore / Marca
- United Motors Service (Delco)
- Anno
- 1935
- Categoria
- Autoradio, eventualmente con registratore a cassette o giradischi
- Radiomuseum.org ID
- 64271
-
- alternative name: Delco Radio Corp. (Appliance) || Delco-Remy Division, General Motors Corp. || United Motors Service Delco General Motors
- Brand: Chieftain || Delco
Clicca sulla miniatura dello schema per richiederlo come documento gratuito.
- Numero di tubi
- 6
- Principio generale
- Supereterodina con stadio RF; ZF/IF 262 kHz
- Gamme d'onda
- Solo onde medie (OM).
- Tensioni di funzionamento
- Batteria di accumulatori, per tutto (es. autoradio, radio amatoriali) / =6 Volt
- Altoparlante
- AP elettrodinamico (bobina mobile e bobina di eccitazione/di campo)
- Materiali
- Mobile di metallo
- Radiomuseum.org
- Modello: Delco 628 - United Motors Service Delco
- Forma
- Chassis o in scatola da montaggio
- Annotazioni
- sync.vibrator for +B
- Fonte esterna dei dati
- Ernst Erb
- Riferimenti schemi
- Rider's Perpetual, Volume 7 = 1936 and before
- Altri modelli
-
In questo link sono elencati 585 modelli, di cui 341 con immagini e 548 con schemi.
Elenco delle radio e altri apparecchi della United Motors Service (Delco)