- Country
- Spain
- Manufacturer / Brand
- Vieta Audio Electrónica, S. A., Acutres, S.A.; Barcelona
- Year
- 1970 ?
- Category
- Audio Amplifier or -mixer
- Radiomuseum.org ID
- 229850
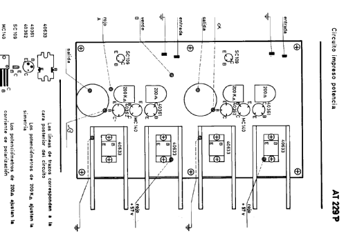
Click on the schematic thumbnail to request the schematic as a free document.
- Number of Transistors
- 15
- Main principle
- Audio-Amplification
- Wave bands
- - without
- Power type and voltage
- Alternating Current supply (AC) / 125; 220 Volt
- Loudspeaker
- - This model requires external speaker(s).
- Material
- Metal case
- from Radiomuseum.org
- Model: AT-229 - Vieta Audio Electrónica, S. A.
- Shape
- Tablemodel, low profile (big size).
- Notes
-
Listado un único semiconductor por tipo.
Each semiconductor type listed once
- Mentioned in
- Revista Blanco y Negro octubre 1970
- Literature/Schematics (1)
- -- Schematic
- Author
- Model page created by Miguel Bravo-Cos. See "Data change" for further contributors.
- Other Models
-
Here you find 122 models, 118 with images and 18 with schematics for wireless sets etc. In French: TSF for Télégraphie sans fil.
All listed radios etc. from Vieta Audio Electrónica, S. A., Acutres, S.A.; Barcelona