Voronež {Воронеж} tubes, 4 push-buttons
Voronezh POLIUS Radio Works
- Country
- Soviet Union
- Manufacturer / Brand
- Voronezh POLIUS Radio Works
- Year
- 1954
- Category
- Broadcast Receiver - or past WW2 Tuner
- Radiomuseum.org ID
- 107685
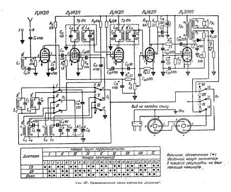
Click on the schematic thumbnail to request the schematic as a free document.
- Number of Tubes
- 5
- Main principle
- Superheterodyne (common); ZF/IF 465 kHz
- Tuned circuits
- 4 AM circuit(s)
- Wave bands
- Broadcast (MW) and Long Wave.
- Power type and voltage
- Storage and/or dry batteries / 90 & 9 & 1,2 Volt
- Loudspeaker
- Permanent Magnet Dynamic (PDyn) Loudspeaker (moving coil)
- Power out
- 0.12 W (unknown quality)
- Material
- Bakelite case
- from Radiomuseum.org
- Model: Voronež {Воронеж} [tubes, 4 push-buttons] - Voronezh POLIUS Radio Works
- Shape
- Tablemodel with Push Buttons.
- Dimensions (WHD)
- 270 x 210 x 160 mm / 10.6 x 8.3 x 6.3 inch
- Notes
- Two variants - with 3 or 4 push-buttons (see in RMorg).
- Net weight (2.2 lb = 1 kg)
- 4 kg / 8 lb 13 oz (8.811 lb)
- Mentioned in
- -- Collector info (Sammler)
- Author
- Model page created by Zenonas Langaitis. See "Data change" for further contributors.
- Other Models
-
Here you find 22 models, 22 with images and 16 with schematics for wireless sets etc. In French: TSF for Télégraphie sans fil.
All listed radios etc. from Voronezh POLIUS Radio Works