Accueil
Forum
Documents
Annonces
Composants
Audio
Catalogue de radios anciennes
U105D
ID = 53970
Editer & infos
Ajouter image
Ajouter variante
Ajouter cotation
Ajouter texte dans forum
assign Manufacturers/Brands (Wholesalers)
Mes composants
Ma collection privée
Pays:
Allemagne
Fabricant:
Halbleiterwerk Frankfurt /Oder, VEB, (HFO); Frankfurt /Oder (Ostd.)
Type:
IC - Integrated Circuit Universal
Identique à
U105D
Culot
SPECIAL TUBEBASE in general
Description
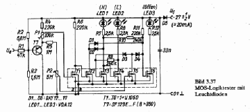
Hex Silicon P-channel enhancement MOS-FET array for general purpose.
-
Texte dans d'autres langues (peut différer)
Dimensions
(l x h x p)
incl.pins/tip
18 x 7 x 8 mm / 0.71 x 0.28 x 0.31 inch
Poids
1 g / 0.04 oz
Bibliographie
-- Original-techn. papers. Datenblatt
U105D: Schaltkr.-Bastelbuch
Egon Strampe
U105D
Günther Stabe † 19.8.20
U105D: Funkamateur Nr.4/1980
Günther Stabe † 19.8.20
Collection de
Peter Pfeiffer (D)
Jörg Kulbe (D)
U105D
[rmxtube-fr, noindex]
Mentions légales
Plus d'informations
Mentions légales
Protection des données
Conditions d'utilisation
Droits d'auteur
FAQ
A propos de Radiomuseum.org
Contact
Presse
Logos
Envoyer à un ami