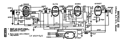
Pick-Me-Up 5 622M

Breville; Sydney

  • Year
  • 1946/1947
  • Category
  • Broadcast Receiver - or past WW2 Tuner
  • Radiomuseum.org ID
  • 184619

Click on the schematic thumbnail to request the schematic as a free document.

 Technical Specifications

  • Number of Tubes
  • 5
  • Main principle
  • Superheterodyne (common); ZF/IF 446 kHz; 2 AF stage(s)
  • Tuned circuits
  • 6 AM circuit(s)
  • Wave bands
  • Broadcast only (MW).
  • Power type and voltage
  • Alternating Current supply (AC) / 220; 240; 260 Volt
  • Loudspeaker
  • Permanent Magnet Dynamic (PDyn) Loudspeaker (moving coil)
  • Material
  • Metal case
  • from Radiomuseum.org
  • Model: Pick-Me-Up 5 622M - Breville; Sydney
  • Shape
  • Tablemodel without push buttons, Mantel/Midget/Compact up to 14
  • Price in first year of sale
  • 20.00 Aus£
  • Circuit diagram reference
  • Australian Official Radio Service Manual Vol. VI
  • Literature/Schematics (1)
  • Mingay's Radio Diagram & I.F. Index
  • Author
  • Model page created by Stuart Irwin. See "Data change" for further contributors.

 Collections | Museums | Literature

 Forum