- País
- Alemania
- Fabricante / Marca
- Elektroakustik Hartmannsdorf, EAH, VEB(K), (Ostd.)
- Año
- 1954/1955
- Categoría
- Radio - o Sintonizador pasado WW2
- Radiomuseum.org ID
- 14388
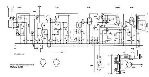
Haga clic en la miniatura esquemática para solicitarlo como documento gratuito.
- Numero de valvulas
- 7
- Principio principal
- Superheterodino en general; ZF/IF 478/10700 kHz
- Número de circuitos sintonía
- 6 Circuíto(s) AM 9 Circuíto(s) FM
- Gama de ondas
- OM, OL, OC y FM
- Tensión de funcionamiento
- Red: Corriente alterna (CA, Inglés = AC) / 120; 220 Volt
- Altavoz
- Altavoz electrodinámico (bobina de campo)
- Material
- Madera
- de Radiomuseum.org
- Modelo: Helena 5407 - Elektroakustik Hartmannsdorf,
- Forma
- Sobremesa apaisado (tamaño grande).
- Ancho, altura, profundidad
- 590 x 390 x 285 mm / 23.2 x 15.4 x 11.2 inch
- Anotaciones
-
Chassis ELMUG 5407. Modellname Helena erst ab 1955
Drei getrennte Anschlüsse für Tonabnehmer, Mikrofon und Tonbandgerät.
- Ext. procedencia de los datos
- E. Erb 3-907007-36-0
- Procedencia de los datos
- Radiokatalog Band 2, Ernst Erb
- Referencia esquema
- Lange Schaltungen der Funkindustrie, Buch 3
- Otros modelos
-
Donde encontrará 47 modelos, 44 con imágenes y 35 con esquemas.
Ir al listado general de Elektroakustik Hartmannsdorf, EAH, VEB(K), (Ostd.)