Sky Prince Transistor
Ever Ready Co. (GB) Ltd.; London
- Pays
- Royaume Uni
- Fabricant / Marque
- Ever Ready Co. (GB) Ltd.; London
- Année
- 1961
- Catégorie
- Radio - ou tuner d'après la guerre 1939-45
- Radiomuseum.org ID
- 167568
Cliquez sur la vignette du schéma pour le demander en tant que document gratuit.
- No. de transistors
- 6
- Semi-conducteurs
- XA102 or. OC44 XA101 or. OC45 XA101 or. OC45 XB113 or. OC81D XC171 or. OC81 XC171 or. OC81
- Principe général
- FI/IF 470 kHz; 2 Etage(s) BF
- Circuits accordés
- 5 Circuits MA (AM)
- Gammes d'ondes
- PO et GO
- Tension / type courant
- Piles sèches / 9 Volt
- Haut-parleur
- HP dynamique oval à aimant permanent / Ø 6 inch = 15.2 cm
- Puissance de sortie
- 1 W (qualité inconnue)
- Matière
- Boitier en bois
- De Radiomuseum.org
- Modèle: Sky Prince [Transistor] - Ever Ready Co. GB Ltd.; London
- Forme
- Modèle de table générique
- Remarques
-
The last Ever Ready battery only table radio. Uses PP10 power pack (obsolete), often replaced by owners with smaller currently available PP9 (2013).
Consumption: No signal 25 mA to 32 mA (higher temperature) and typically 37mA at normal volume.
LW: 1110 ... 1870 m
MW: 192 ... 555 m
Ferrite rod aerial with external aerial option.
Transformer based Push Pull output.
The Berec Brigand is the virtually identical export version.
Earlier models use the Ediswan X series and later models the Mullard OC series.
- Prix de mise sur le marché
- 19.00 GBP
- Source
- -- Schematic
- Schémathèque (1)
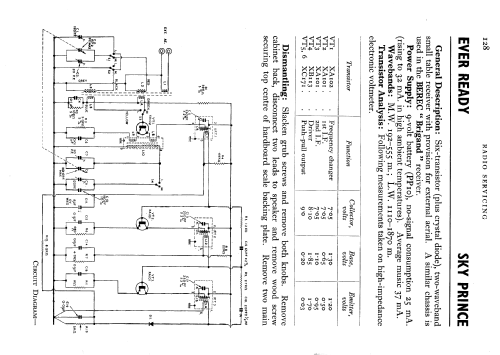
- Radio And Television Servicing books (R&TVS) (1962-1963 Ed. single vol. P128)
- Schémathèque (2)
- ERT Chart 1332
- Auteur
- Modèle crée par Keith Staines. Voir les propositions de modification pour les contributeurs supplémentaires.
- D'autres Modèles
-
Vous pourrez trouver sous ce lien 204 modèles d'appareils, 147 avec des images et 92 avec des schémas.
Tous les appareils de Ever Ready Co. (GB) Ltd.; London
Collections
Le modèle Sky Prince fait partie des collections des membres suivants.
Contributions du forum pour ce modèle: Ever Ready Co. GB: Sky Prince
Discussions: 1 | Publications: 2
This radio also exists with a Mullard transistor lineup - I don't have the details but you can see Mullard transistors in the image uploaded by Michael Watterson.
I have one with the Ediswan set.
Andrew Wylie, 12.Dec.19