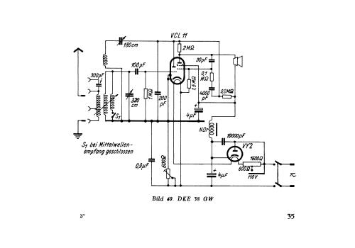
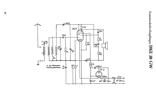
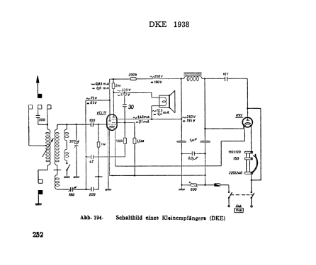
Deutscher Kleinempfänger 1938 DKE38
Grassmann, Peter, RFW, Radio-Funk-Werkstätten; vor 1945, Berlin & Neuhaldensleben
- Pays
- Allemagne
- Fabricant / Marque
- Grassmann, Peter, RFW, Radio-Funk-Werkstätten; vor 1945, Berlin & Neuhaldensleben
- Année
- 1938–1940
- Catégorie
- Radio - ou tuner d'après la guerre 1939-45
- Radiomuseum.org ID
- 216467
Cliquez sur la vignette du schéma pour le demander en tant que document gratuit.
- No. de tubes
- 2
- Principe général
- Récepteur TRF - par réaction (régénératif); 1 Etage(s) BF
- Circuits accordés
- 1 Circuits MA (AM)
- Gammes d'ondes
- PO et GO
- Tension / type courant
- Appareil tous courants (CA / CC)
- Haut-parleur
- HP magnétique à membrane libre (>1932)
- Matière
- Boitier en bakélite
- De Radiomuseum.org
- Modèle: Deutscher Kleinempfänger 1938 DKE38 - Grassmann, Peter, RFW, Radio-
- Dimensions (LHP)
- 240 x 240 x 120 mm / 9.4 x 9.4 x 4.7 inch
- Remarques
- DKE 1938 = Deutscher Kleinempfänger; Spitzname: Goebbelsschnauze. Hat immer div. Spannungen. Von der Spannung her gibt es eigentlich nur Allstrom oder Batterie, nur in Literatur verschieden geführt. Hier ist der Name absichtlich ausgeschrieben als Deutscher Kleinempfänger DKE, damit er auch mit dieser Eingabe erscheint und nicht nur mit DKE oder DKE 38 bzw. DKE38.
Da nur Rückwand und meist das Typenschild den Hersteller zeigen, kann nicht immer nach diesem sortiert werden. Im übrigen sind die Produkte der verschiedenen Hersteller identisch.
Eine Auflistung aller deutschen Hersteller ist hier zu finden.
- Poids net
- 1.9 kg / 4 lb 3 oz (4.185 lb)
- Auteur
- Modèle crée par Konrad Birkner † 12.08.2014. Voir les propositions de modification pour les contributeurs supplémentaires.
- D'autres Modèles
-
Vous pourrez trouver sous ce lien 113 modèles d'appareils, 78 avec des images et 30 avec des schémas.
Tous les appareils de Grassmann, Peter, RFW, Radio-Funk-Werkstätten; vor 1945, Berlin & Neuhaldensleben
Collections
Le modèle Deutscher Kleinempfänger 1938 fait partie des collections des membres suivants.