Sintonizzatore FM FM 177
GVH Elettronica; Bologna
- Country
- Italy
- Manufacturer / Brand
- GVH Elettronica; Bologna
- Year
- 1977 ??
- Category
- Pre-stage (adaptor for SW/FM/VHF/UHF incl. built-in), Frequency converter
- Radiomuseum.org ID
- 337022
Click on the schematic thumbnail to request the schematic as a free document.
- Number of Transistors
- 7
- Semiconductors
- Main principle
- RF Converter/Adapter (not voltage converter); ZF/IF 10700 kHz
- Wave bands
- FM Broadcast Band Only
- Power type and voltage
- Powered by external power supply or a main unit. / CC: 12-25 Volt
- Loudspeaker
- - For headphones or amp.
- Material
- Printed Circuit Board
- from Radiomuseum.org
- Model: Sintonizzatore FM FM 177 - GVH Elettronica; Bologna
- Shape
- Chassis only or for «building in»
- Dimensions (WHD)
- 140 x 40 x 110 mm / 5.5 x 1.6 x 4.3 inch
- Notes
-
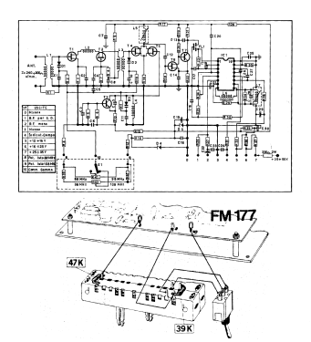
Modulo sintonizzatore per Modulazione di Frequenza operante nella gamma delle radio commerciali 88 - 108 MHz, fornito premontato e tarato su circuito stampato. 2 sottogamme 88 - 98 e 98 - 108 MHz commutabili tramite commutatore in dotazione. Le sottogamme sono sintonizzabili tramite 2 potenziometri a slitta.
Uscita in BF: 180 mV su 10 kΩ.
In unione al decoder stereo SD 277 costituisce un sintonizzatore stereo di elevate prestazioni.
- Price in first year of sale
- 35,000.00 ITL
- Mentioned in
- -- Original prospect or advert (CQ Elettronica CD edizioni, numero 2 1977 ed indicazioni del produttore.)
- Author
- Model page created by Pier Antonio Aluffi. See "Data change" for further contributors.
- Other Models
-
Here you find 53 models, 48 with images and 26 with schematics for wireless sets etc. In French: TSF for Télégraphie sans fil.
All listed radios etc. from GVH Elettronica; Bologna