Liliput 111W MW, magnetischer LS
Jotha-Radio, El.-App.-Fabrik Jochen Hüngerle KG (Huengerle); Königsfeld/Schww.
- País
- Alemania
- Año
- 1951–1953
- Categoría
- Radio - o Sintonizador pasado WW2
- Radiomuseum.org ID
- 15177
-
- alternative name: Elektro-Apparate-Fabrik
- Brand: EAF
Haga clic en la miniatura esquemática para solicitarlo como documento gratuito.
- Numero de valvulas
- 1
- Válvulas
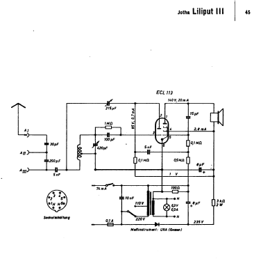
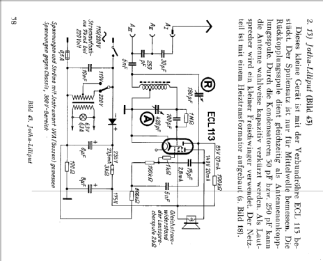
- ECL113
- Numero de transistores
- Semiconductores
- Tr.Gl.=Metal-rectif.
- Principio principal
- RFS con reacción (regenerativo); 1 Etapas de AF
- Número de circuitos sintonía
- 1 Circuíto(s) AM
- Gama de ondas
- OM (onda media) solamente
- Tensión de funcionamiento
- Red: Corriente alterna (CA, Inglés = AC) / 110; 220 Volt
- Altavoz
- Altavoz magnético de membrana libre, sin suspensión. / Ø 9 cm = 3.5 inch
- Material
- Bakelita
- de Radiomuseum.org
- Modelo: Liliput 111W [MW, magnetischer LS] - Jotha-Radio, El.-App.-Fabrik
- Forma
- Sobremesa de tamaño mediano sin botonera <= 35 cm. (Incluso portables pero sólo con alimantación por red).
- Ancho, altura, profundidad
- 160 x 140 x 90 mm / 6.3 x 5.5 x 3.5 inch
- Anotaciones
-
Mittelwellenbereich von 180 bis 550 m. Beleuchtete Linearskala.
Auch mit permanent-dynamischem Lautsprecher, siehe Liliput.
- Peso neto
- 1 kg / 2 lb 3.2 oz (2.203 lb)
- Precio durante el primer año
- 45.00 DM
- Ext. procedencia de los datos
- E. Erb 3-907007-36-0
- Procedencia de los datos
- Kat.d.Rundf.GrossH.1951/52 / Radiokatalog Band 2, Ernst Erb
- Mencionado en
- Funkschau (5119)
- Documentación / Esquemas (1)
- -- Original prospect or advert
- Documentación / Esquemas (2)
- Lange, Schaltungen der Funkindustrie (Band VI (6))
- Otros modelos
-
Donde encontrará 58 modelos, 46 con imágenes y 36 con esquemas.
Ir al listado general de Jotha-Radio, El.-App.-Fabrik Jochen Hüngerle KG (Huengerle); Königsfeld/Schww.
Colecciones
El modelo Liliput es parte de las colecciones de los siguientes miembros.