Radiobalilla (Balilla)
Magnadyne Radio; Torino
- Country
- Italy
- Manufacturer / Brand
- Magnadyne Radio; Torino
- Year
- 1937 ?
- Category
- Broadcast Receiver - or past WW2 Tuner
- Radiomuseum.org ID
- 72488
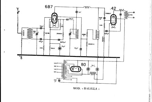
Click on the schematic thumbnail to request the schematic as a free document.
- Number of Tubes
- 3
- Main principle
- TRF with diode detector; 2 AF stage(s); Reflex
- Tuned circuits
- 2 AM circuit(s)
- Wave bands
- Broadcast only (MW).
- Power type and voltage
- Alternating Current supply (AC)
- Loudspeaker
- Electro Magnetic Dynamic LS (moving-coil with field excitation coil)
- Material
- Wooden case
- from Radiomuseum.org
- Model: Radiobalilla - Magnadyne Radio; Torino
- Shape
- Tablemodel, with any shape - general.
- Dimensions (WHD)
- 325 x 340 x 195 mm / 12.8 x 13.4 x 7.7 inch
- Notes
- Ricevitore popolare. On government order produced by a number of different manufacturers (Hawes: Radio Art).
- Net weight (2.2 lb = 1 kg)
- 6.5 kg / 14 lb 5.1 oz (14.317 lb)
- Price in first year of sale
- 430.00 ITL
- Source of data
- Guida Pratica Antique Radio II (2000)
- Author
- Model page created by Alessandro De Poi. See "Data change" for further contributors.
- Other Models
-
Here you find 357 models, 276 with images and 258 with schematics for wireless sets etc. In French: TSF for Télégraphie sans fil.
All listed radios etc. from Magnadyne Radio; Torino
Collections
The model Radiobalilla (Balilla) is part of the collections of the following members.
Museums
The model Radiobalilla (Balilla) can be seen in the following museums.