Rheingold W754M 9 Röhren

Nora, Aron, Heliowatt; Berlin

  • Jahr
  • 1950/1951
  • Kategorie
  • Rundfunkempfänger (Radio - oder Tuner nach WW2)
  • Radiomuseum.org ID
  • 7785

Klicken Sie auf den Schaltplanausschnitt, um diesen kostenlos als Dokument anzufordern.

 Technische Daten

  • Anzahl Röhren
  • 9
  • Hauptprinzip
  • Superhet allgemein; ZF/IF 473/10700 kHz
  • Anzahl Kreise
  • 6 Kreis(e) AM     8 Kreis(e) FM
  • Wellenbereiche
  • Langwelle, Mittelwelle, Kurzwelle und UKW.
  • Betriebsart / Volt
  • Wechselstromspeisung / 110; 125; 150; 220; 240 Volt
  • Lautsprecher
  • Dynamischer LS, keine Erregerspule (permanentdynamisch) / Ø 21 cm = 8.3 inch
  • Material
  • Gerät mit Holzgehäuse

Die GFGF Zeitschrift Funkgeschichte bringt interessante Artikel zu Radios, Funkwesen und Medien. Bei Radiomuseum.org finden Sie die vollständigen Hefte früherer Ausgaben als PDF zum Download.

  • von Radiomuseum.org
  • Modell: Rheingold W754M [9 Röhren] - Nora, Aron, Heliowatt; Berlin
  • Form
  • Tischgerät-gross, - Querformat (breiter als hoch oder quadratisch).
  • Abmessungen (BHT)
  • 530 x 360 x 240 mm / 20.9 x 14.2 x 9.4 inch
  • Bemerkung
  • Nora W754M Rheingold als 9-Röhren-Modell verwendet getrennte Mischstufen für UKW (EF42) und AM (ECH42) und hat als magisches Auge eine EM5. Ratiodetektor mit EAA11.

    Im Katalog des Rundfunk-Grosshandels 1950/51 wird W754M Rheingold noch als 8-Röhren Radio mit gemeinsamer Mischröhre für alle Wellenbereiche (ECH42) und mag. Auge EM4 geführt. Die Existenz dieser ersten Version ist bislang nicht belegt.

  • Nettogewicht
  • 11.5 kg / 25 lb 5.3 oz (25.33 lb)
  • Originalpreis
  • 372.00 DM
  • Datenherkunft
  • Radiokatalog Band 1, Ernst Erb
  • Schaltungsnachweis
  • Lange-Nowisch

 Sammlungen | Museen | Literatur

Sammlungen

Das Modell Rheingold befindet sich in den Sammlungen folgender Mitglieder.

 Forum

Forumsbeiträge zum Modell: Nora, Aron,: Rheingold W754M

Threads: 2 | Posts: 12

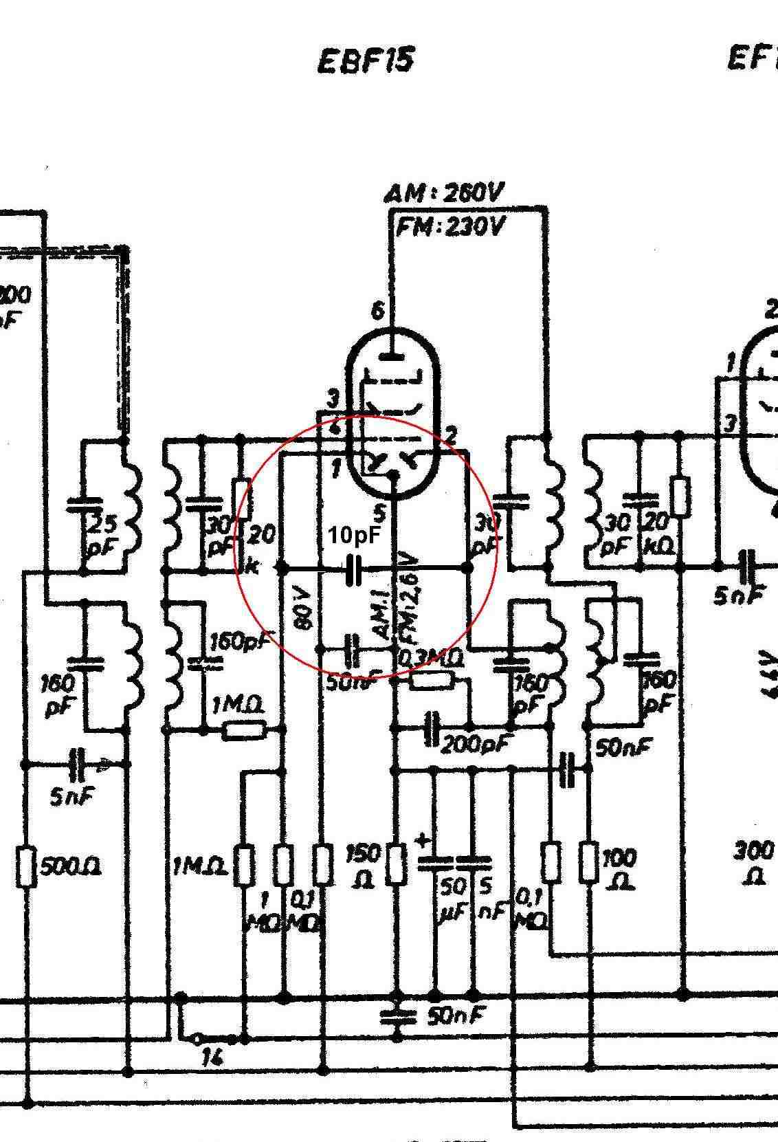
In dem vorliegenden Schaltbild steckt ein Fehler. Das Gitter 2 der EBF15 ist direkt mit dem ZF-Bandfilter verbunden. Das kann nicht funktionieren.

Korrektur.

 

Viele Grüße H.-P. Kexel

Anlagen

Hans-Peter Kexel, 03.Mar.13

Weitere Posts (3) zu diesem Thema.

Hallo zusammen,
in meinem Nora W754M Rheingold ist im UKW-ZF-Verstärker die Röhre EF14 defekt.
Da sich in meinem Ersatzteillager keine EF14 befindet, möchte ich eine Ersatzröhre evtl. mit Adaptersockel einsetzen.
Welche Röhre ist hierfür geeignet und welche Bauteile müssen geändert werden?

Gruß Oswald

PS: Ich habe es mit einer EF80 versucht, aber der Empfang war total verzerrt!

Oswald Bettendorf, 17.Jul.06

Weitere Posts (9) zu diesem Thema.