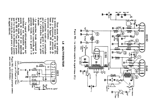
Signal Tracer ST3
Perlor Radio; Paris
- Land
- Frankreich / France
- Hersteller / Marke
- Perlor Radio; Paris
- Jahr
- 1955 ??
- Kategorie
- Service- oder Labor-Ausrüstung
- Radiomuseum.org ID
- 250194
Klicken Sie auf den Schaltplanausschnitt, um diesen kostenlos als Dokument anzufordern.
- Anzahl Röhren
- 3
- Wellenbereiche
- - ohne
- Betriebsart / Volt
- Wechselstromspeisung / 110; 130: 210; 220 Volt
- Lautsprecher
- - Für Kopfhörer oder NF-Verstärker
- Material
- Metallausführung
- von Radiomuseum.org
- Modell: Signal Tracer ST3 - Perlor Radio; Paris
- Form
- Tischmodell, Zusatz nicht bekannt - allgemein.
- Abmessungen (BHT)
- 270 x 200 x 150 mm / 10.6 x 7.9 x 5.9 inch
- Bemerkung
-
Deux sondes sont couplées à l'appareil :
Une sonde Multivibrateur qui permet d'injecter un signal et une sonde HF qui permet de prélever les circuits HF.
- Nettogewicht
- 5 kg / 11 lb 0.2 oz (11.013 lb)
- Originalpreis
- 330.00 FRF
- Datenherkunft
- - - Manufacturers Literature
- Literatur/Schema (1)
- - - Manufacturers Literature
- Literatur/Schema (4)
- -- Schematic
- Autor
- Modellseite von einem Mitglied aus A angelegt. Siehe bei "Änderungsvorschlag" für weitere Mitarbeit.
- Weitere Modelle
-
Hier finden Sie 49 Modelle, davon 44 mit Bildern und 43 mit Schaltbildern.
Alle gelisteten Radios usw. von Perlor Radio; Paris
Sammlungen
Das Modell Signal Tracer befindet sich in den Sammlungen folgender Mitglieder.