463W A-Röhren
Sachsenwerk Radeberg, VEB; Radeberg (Ostd.)
- Country
- Germany
- Manufacturer / Brand
- Sachsenwerk Radeberg, VEB; Radeberg (Ostd.)
- Year
- 1946/1947
- Category
- Broadcast Receiver - or past WW2 Tuner
- Radiomuseum.org ID
- 17488
Click on the schematic thumbnail to request the schematic as a free document.
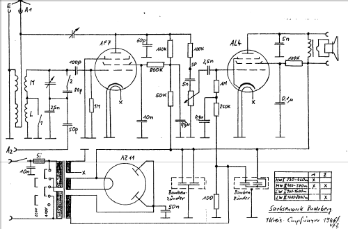
- Number of Tubes
- 3
- Main principle
- TRF with regeneration; 1 AF stage(s)
- Tuned circuits
- 1 AM circuit(s)
- Wave bands
- Broadcast (MW) and Long Wave.
- Power type and voltage
- Alternating Current supply (AC) / 110; 220 Volt
- Loudspeaker
- Permanent or electro-dynamic (moving coil), system not known yet.
- Material
- Wooden case
- from Radiomuseum.org
- Model: 463W [A-Röhren] - Sachsenwerk Radeberg, VEB;
- Dimensions (WHD)
- 290 x 175 x 175 mm / 11.4 x 6.9 x 6.9 inch
- Notes
- Neuere Variante mit A-Röhren, aber gleiches Gehäuse wie gleichlautendes Modell ID=6414 mit RV12P4000.
- External source of data
- E. Erb 3-907007-36-0
- Source of data
- Radiokatalog Band 2, Ernst Erb
- Other Models
-
Here you find 36 models, 35 with images and 22 with schematics for wireless sets etc. In French: TSF for Télégraphie sans fil.
All listed radios etc. from Sachsenwerk Radeberg, VEB; Radeberg (Ostd.)
Collections
The model is part of the collections of the following members.