- Hersteller / Marke
- Seibt, Dr. Georg (Nachf.); Berlin, auch München
- Jahr
- 1930/1931
- Kategorie
- Rundfunkempfänger (Radio - oder Tuner nach WW2)
- Radiomuseum.org ID
- 5776
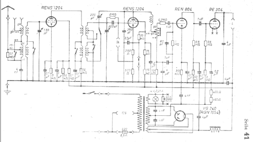
Klicken Sie auf den Schaltplanausschnitt, um diesen kostenlos als Dokument anzufordern.
- Anzahl Röhren
- 5
- Hauptprinzip
- Geradeaus allg. (mit oder ohne Rückk.); 2 Zusatz; 1 NF-Stufe(n)
- Anzahl Kreise
- 3 Kreis(e) AM
- Wellenbereiche
- Langwelle, Mittelwelle (LW+MW).
- Betriebsart / Volt
- Wechselstromspeisung / 125/220 Volt
- Lautsprecher
- - Dieses Modell benötigt externe(n) Lautsprecher.
- Material
- Gerät mit Holzgehäuse
Die GFGF Zeitschrift Funkgeschichte bringt interessante Artikel zu Radios, Funkwesen und Medien. Bei Radiomuseum.org finden Sie die vollständigen Hefte früherer Ausgaben als PDF zum Download.
- von Radiomuseum.org
- Modell: 41 - Seibt, Dr. Georg Nachf.;
- Form
- Tischgerät-gross, - Querformat (breiter als hoch oder quadratisch).
- Abmessungen (BHT)
- 381 x 260 x 215 mm / 15 x 10.2 x 8.5 inch
- Bemerkung
-
Als Endröhre können eine RE134, RES164 oder RE304 verwendet werden.
- Nettogewicht
- 8.3 kg / 18 lb 4.5 oz (18.282 lb)
- Originalpreis
- 180.00 RM +
- Datenherkunft
- Katalog Radio-Zentrale Prohaska 1930/31 (dick) / Radiokatalog Band 1, Ernst Erb
- Schaltungsnachweis
- Lange + FS-Bestückungstabellen
- Weitere Modelle
-
Hier finden Sie 416 Modelle, davon 357 mit Bildern und 204 mit Schaltbildern.
Alle gelisteten Radios usw. von Seibt, Dr. Georg (Nachf.); Berlin, auch München