- Country
- Germany
- Manufacturer / Brand
- Seibt, Dr. Georg (Nachf.); Berlin, auch München
- Year
- 1948/1949
- Category
- Broadcast Receiver - or past WW2 Tuner
- Radiomuseum.org ID
- 5653
Click on the schematic thumbnail to request the schematic as a free document.
- Number of Tubes
- 2
- Main principle
- TRF with regeneration; 1 AF stage(s)
- Tuned circuits
- 1 AM circuit(s)
- Wave bands
- Broadcast (MW) and Long Wave.
- Power type and voltage
- AC/DC-set / 110-220 Volt
- Loudspeaker
- Permanent Magnet Dynamic (PDyn) Loudspeaker (moving coil)
- Material
- Wooden case
- from Radiomuseum.org
- Model: Violine GW - Seibt, Dr. Georg Nachf.;
- Dimensions (WHD)
- 400 x 245 x 275 mm / 15.7 x 9.6 x 10.8 inch
- Net weight (2.2 lb = 1 kg)
- 4.8 kg / 10 lb 9.2 oz (10.573 lb)
- Source of data
- Radiokatalog Band 1, Ernst Erb
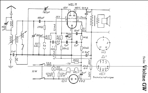
- Circuit diagram reference
- Lange-Nowisch
- Picture reference
- Das Modell ist im «Radiokatalog» (Erb) abgebildet.
- Other Models
-
Here you find 416 models, 357 with images and 204 with schematics for wireless sets etc. In French: TSF for Télégraphie sans fil.
All listed radios etc. from Seibt, Dr. Georg (Nachf.); Berlin, auch München
Collections
The model Violine is part of the collections of the following members.