Meiduo 美多 Unknown Transistor Radio
Shanghai 上海无线电器材厂 Shanghai Radio Equipment Factory, Shanghai (E)
- Country
- People's Republic of China
- Manufacturer / Brand
- Shanghai 上海无线电器材厂 Shanghai Radio Equipment Factory, Shanghai (E)
- Year
- 1958
- Category
- Broadcast Receiver - or past WW2 Tuner
- Radiomuseum.org ID
- 176333
Click on the schematic thumbnail to request the schematic as a free document.
- Number of Transistors
- 7
- Main principle
- Superheterodyne (common); ZF/IF 455 kHz; 3 AF stage(s)
- Tuned circuits
- 5 AM circuit(s)
- Wave bands
- Broadcast only (MW).
- Power type and voltage
- Dry Batteries / 4.5 Volt
- Loudspeaker
- Permanent Magnet Dynamic (PDyn) Loudspeaker (moving coil)
- from Radiomuseum.org
- Model: Meiduo 美多 Unknown Transistor Radio - Shanghai 上海无线电器材厂
- Shape
- Portable set > 8 inch (also usable without mains)
- Dimensions (WHD)
- 270 x 160 x 92 mm / 10.6 x 6.3 x 3.6 inch
- Notes
- The unknown Transistor Radio model, a Meiduo 美多, has broadband 540 - 1600 kHz (187 - 555 m). It is the first transistor radio made in China. In the mentioned manual it has no designation yet. It probably has been made in a very small number or only as prototype. Development was finished 11th, March,1958 in Shanghai. It uses transistors from Sony, Tokyo (for RF and IF, AF first stage) and General Electric, USA (for audio frequency power output). It also used some key elements from abroad and was too big.
The documentation is in trad. Chinese: 美多 Meiduo 半導體 收音機, simpl. Chinese 半导体 = Semiconductor, 收音机 = Radio. Below that is 上海無線電器材廠 tha factory name (simp. Chinese = 上海无线电器材厂), followed by 出品 (Pinyin = Chūpǐn) "to produce" (in 1958 年 = year).
History about the next transistor model - with production in series:
The second step was the Transistor Radio model Meiduo 美多 Transistor ST-2-1-1, which was produced in 1959; first series 300 units. The transistors and some parts still came from abroad.
In Summer 1958, the "Harbin Xinsheng Kaiguan Factory" 哈尔滨新生开关厂 (by the way: 开关 means switch / breaker), a manufacturer in Harbin, North East China, got the job to develop a modern pocket transistor radio with all the parts necessary for producing a full China designed and produced transistor radio. The production then was given to "Harbin 4th Wireless Factory". This first fully China made transistor radio from September 1958 (prototype only) was called Songhuajiang 松花江 601 and could be sold from 1960 on. Very astonishing is the short time for development - including transistors and the tiny peaces etc. Many difficutlies had to overcome. See an article about the first transistor radios in China in the forum.
- Literature/Schematics (1)
- 10-Broadcast Radio Manual, July 1959 (1958/59) (page 153.)
- Author
- Model page created by Ernst Erb. See "Data change" for further contributors.
- Other Models
-
Here you find 2 models, 2 with images and 2 with schematics for wireless sets etc. In French: TSF for Télégraphie sans fil.
All listed radios etc. from Shanghai 上海无线电器材厂 Shanghai Radio Equipment Factory, Shanghai (E)
Forum contributions about this model: Shanghai 上海无线电...: Meiduo 美多 Unknown Transistor Radio
Threads: 2 | Posts: 2
Meiduo 美多 Unknown Transistor Radio ID = 176333
click here for the original German post
Translated from radio und fernsehen 17-1959 S. 540-541 o.A. "Rundfunk und Fernsehen in China" (Report from Leipzig Spring Fair 1959),
by M Burgess
Please notice:
the similarity of the Meiduo radio circuitry to the early Sony / Gendis TR-72 circuitry is obvious.
Radio and Television in China
...In addition to some big factories in the People's Republic of China, many small businesses are manufacturing radio receivers. The most important include:
The Radio Factory in Shanghai;
The Peony plant in Beijing;
And plants in Nanjing and Tianjin.
The plant in Shanghai is located in a large newly constructed complex. Some particularly interesting models from this establishment are shown this year at the Leipzig Spring Fair:
a radiogram, a large table radio with four speakers featuring four wavebands and a ferrite antenna and a portable radio.
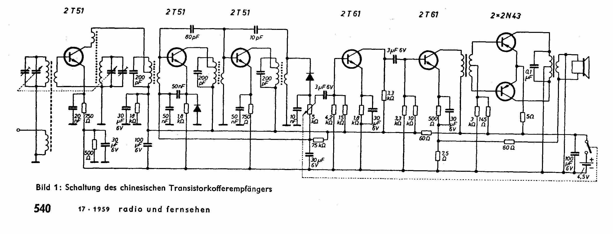
The first transistor model radio was developed last year. Its production could be expected to commence this year when the necessary transistors are available in sufficient quantities. This receiver is a fully transistorized medium-wave superhet with a ferrite antenna and gain control using seven transistors and two diodes (Figs l and 2).
Special attention has been given to the construction of this model to increase its sensitivity and to miniaturise its components compared to previous Chinese sets. This requirement led to the use of new components developed in China, such as ferrite rods, ferrite pot core IF transformers, ceramic capacitors, miniature carbon film resistors and small variable tuning capacitors. Notably this receiver was manufactured with a printed circuit board...
...Technical Data
Superthet transistor portable
Wavelength: 530 kHz-1600 kHz
Transistors: 2T51 (mixer), 2x2T51 (IF gain), 2x2T61 (AF-amplification), 2x2N43 push-pull output stage
Intermediate frequency: 455 kHz
Sensitivity: <1000 µV/M, Output power: 50 mW maximum
Power source: 3 D-cells 1.5 V, Power consumption: ~ 33mA...

(click on image for full scale schematic)
Reference
radio und fernsehen 17-1959 S. 540-541 o.A., "Rundfunk und Fernsehen in China"
(Bericht von der Leipziger Frühjahrsmesse 1959), extract
Attachments
- 04Shanghai_Tranistor_sch_Bild1 (184 KB)
Wolfgang Gebert, 10.Aug.12
for enlish translation click here
Meiduo 美多 Unbekanntes Transistorradio ID = 176333
Zu diesem Radio gibt es folgenden Literaturhinweis:
radio und fernsehen 17-1959 S. 540-541 o.A. "Rundfunk und Fernsehen in China"
(Bericht von der Leipziger Frühjahrsmesse 1959),
hier in Auszügen zitiert.
Es wird auch ein Bild des Radios und ein Schaltbild gezeigt .
Die Schaltung des Meiduo ist, bis auf die Bestückung der Endtransistoren, praktisch identisch
zum frühen Sony / Gendis TR-72 .ID = 71239
"Rundfunk und Fernsehen in China
...Neben einigen großen Werken fertigen in der Volksrepublik China auch sehr viele kleine Firmen Rundfunkempfänger; als wichtigste Werke sind zu nennen:
Radiofabrik Shanghai,
in Peking das Werk Peony
sowie Werke in Nanking und Tientsin.
Das Werk in Shanghai befindet sich in einem neuerbauten großen Gebäudekomplex. Besonders interessante Typen aus diesem Betrieb sind die auf der diesjährigen Leipziger Frühjahrsmesse gezeigten Geräte: eine Musiktruhe, ein Großsuper mit vier Lautsprechern, 3-D-Klang, vier Wellenbereichen, Ferritantenne und ein Kofferempfänger.
Das erste Muster eines Transistorkoffergerätes wurde im vorigen Jahr entwickelt. Seine Fertigung soll nach Möglichkeit noch in diesem Jahr aufgenommen werden, wenn die erforderlichen Transistoren in aus-
reichenden Stückzahlen zur Verfügung stehen.
Bei diesem Empfänger handelt es sich um einen volltransistorisierten Mittelwellenkoffersuper mit Ferritantenne und Schwundausgleich, der mit sieben Transistoren und zwei Dioden arbeitet (Bilder l und 2).
Besonderer Wert wurde bei der Konstruktion dieses Typs auf die Erhöhung der Empfindlichkeit und auf Verringerrung der Bauelementeabmessungen gegenüber den bisher in China gebauten Rundfunkgeräten gelegt. Diese Forderung führte zur Verwendung neuer in China entwickelter Bauelemente, wie z. B. der Ferritstabantenne, ZF-Filter mit Ferritschalenkern, Keramikkondensatoren, Miniaturkohleschichtwiderstände und kleine Doppeldrehkondensatoren. Bemerkenswert ist ferner, daß dieser Empfänger in gedruckter Schaltung ausgeführt wurde...
...Technisch» Daten
„Transistorkoffersuper"
Wellenbereich: M 530 kHz-1600 kHz
Transistorbestückung: 2T51 Mischstufe 2x2T51 ZF-Verstärkung 2x2T61 NF-Verstärkung 2x2N43 Gegentaktendstufe
Zwischenfrequenz: 455 kHz
Empfindlichkeit: < 1000 µV/m Ausgangsleistung: maximal 50 mW
Stromquelle: 3 Monozellen je 1,5 V Stromverbrauch: ~ 33mA...

(zum Vergrößern bitte auf Schaltbild klicken)
erschienen in
radio und fernsehen 17-1959 S. 540-541 o.A., "Rundfunk und Fernsehen in China"
(Bericht von der Leipziger Frühjahrsmesse 1959), auszugsweise zitiert.
Wolfgang Gebert, 07.Aug.12
