- Country
- Germany
- Manufacturer / Brand
- Siemens (& Halske, -Schuckert Werke SSW, Electrogeräte); Berlin, München
- Year
- 1936/1937
- Category
- Broadcast Receiver - or past WW2 Tuner
- Radiomuseum.org ID
- 5391
Click on the schematic thumbnail to request the schematic as a free document.
- Number of Tubes
- 3
- Main principle
- TRF with regeneration; 1 AF stage(s)
- Tuned circuits
- 1 AM circuit(s)
- Wave bands
- Broadcast (MW) and Long Wave.
- Power type and voltage
- AC/DC-set / 150-; 110~; 125~; 220~ Volt
- Loudspeaker
- Electro Magnetic Dynamic LS (moving-coil with field excitation coil)
- Material
- Bakelite case
- from Radiomuseum.org
- Model: Standard 62GW - Siemens & Halske, -Schuckert
- Shape
- Tablemodel, high profile (upright - NOT Cathedral nor decorative).
- Dimensions (WHD)
- 350 x 430 x 240 mm / 13.8 x 16.9 x 9.4 inch
- Notes
-
Chassis ähnlich Telefunken 612GW.
- Price in first year of sale
- 169.00 RM
- Source of data
- HandB.d.d.Rundfunk-Handels 1936/37 / Radiokatalog Band 1, Ernst Erb
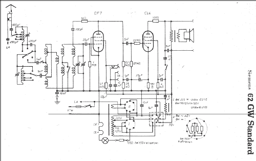
- Circuit diagram reference
- Lange+Schenk+FS-Röhrenbestückung
- Picture reference
- Das Modell ist im «Radiokatalog» (Erb) abgebildet.
- Other Models
-
Here you find 2543 models, 2154 with images and 1347 with schematics for wireless sets etc. In French: TSF for Télégraphie sans fil.
All listed radios etc. from Siemens (& Halske, -Schuckert Werke SSW, Electrogeräte); Berlin, München
Collections
The model Standard is part of the collections of the following members.