• Jahr
  • 1992 ??
  • Kategorie
  • Rundfunkempfänger (Radio - oder Tuner nach WW2)
  • Radiomuseum.org ID
  • 181187

Klicken Sie auf den Schaltplanausschnitt, um diesen kostenlos als Dokument anzufordern.

 Technische Daten

  • Anzahl Transistoren
  • Halbleiter vorhanden.
  • Halbleiter
  • Hauptprinzip
  • Superhet allgemein; ZF/IF 455/10700 kHz
  • Wellenbereiche
  • Langwelle, Mittelwelle, Kurzwelle und UKW.
  • Spezialitäten
  • Andere Kombin. siehe Bemerkungen
  • Betriebsart / Volt
  • Netz- / Batteriespeisung / 220 / 8 x 1,5 Volt
  • Lautsprecher
  • 4 Lautsprecher
  • Belastbarkeit / Leistung
  • 6 W (Qualität unbekannt)
  • Material
  • Plastikgehäuse (nicht Bakelit), Thermoplast

Die GFGF Zeitschrift Funkgeschichte bringt interessante Artikel zu Radios, Funkwesen und Medien. Bei Radiomuseum.org finden Sie die vollständigen Hefte früherer Ausgaben als PDF zum Download.

  • von Radiomuseum.org
  • Modell: CD-Compo RD-115 - Siemens & Halske, -Schuckert
  • Form
  • Reisegerät > 20 cm (netzunabhängig betreibbar)
  • Bemerkung
  • Mit eingebautem Cassetten-Recorder und CD Spieler.
    3-Strahl Laserabtasteinheit: KSS-150 B, Sony.
  • Literatur/Schema (1)
  • Original Siemens Service Unterlagen
  • Autor
  • Modellseite von Josef Pilz angelegt. Siehe bei "Änderungsvorschlag" für weitere Mitarbeit.

 Sammlungen | Museen | Literatur

 Forum

Forumsbeiträge zum Modell: Siemens & Halske, -: CD-Compo RD-115

Threads: 2 | Posts: 2

Verehrte Sammlergemeinde,

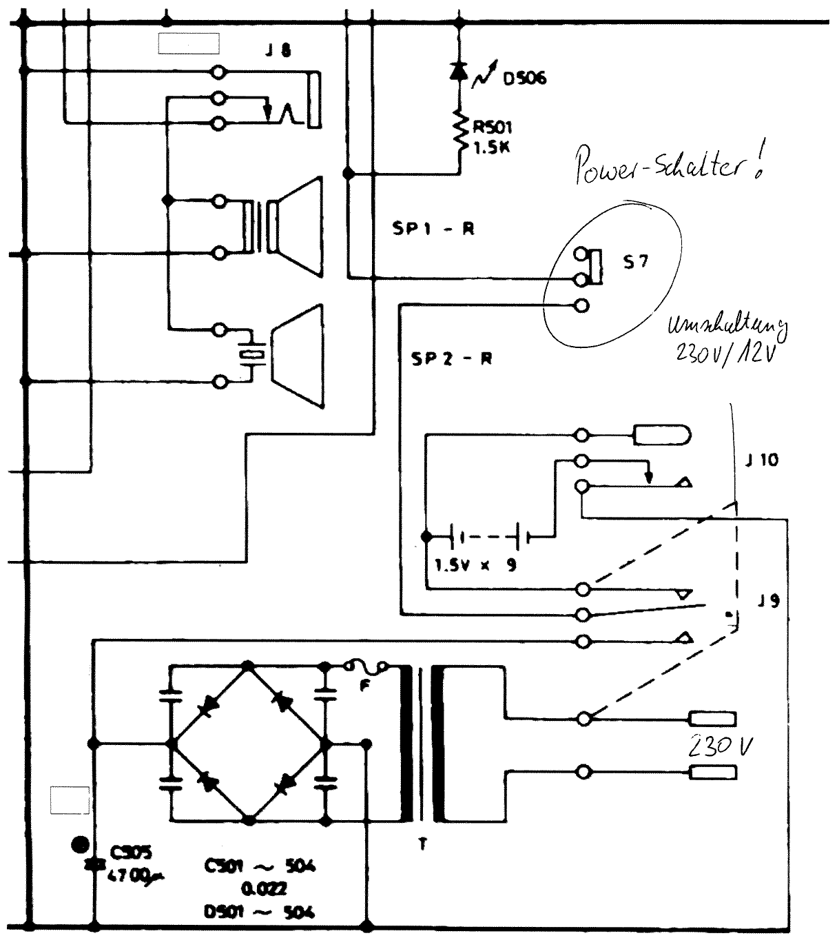
ich möchte noch darauf hinweisen, dass dieses Radio beim Ausschalten am Power-Tastschalter sekundär abschaltet. Das Netzteil bleibt ständig an der Betriebsspannung 230 Volt angeschlossen und verbraucht „Stand-by-Strom“. Im Schaltbildauszug versuche ich das noch deutlicher darzustellen.

Viele Grüße

Klaus Pahr

Anlagen

Klaus Pahr, 10.Aug.16

Weitere Posts (1) zu diesem Thema.

Verehrte Sammlergemeinde,

ich habe eigentlich als Ersatzteilspender den Siemens RD115 gekauft, weil beim Gerät meines Vaters der linke Kassettendeckel gebrochen ist. In eBay fand ich zufällig dieses Gerät mit Beschreibung „defekt“. Ich habe es gekauft und dann gleich mal rein geschaut, warum gar nix geht, nicht mal die Power-LED. Das kann dann eigentlich nur was mit der Stromversorgung zu tun haben. Es zeigte sich sehr schnell, dass der Einschalter kaputt war. Ist er überbrückt, spielt das Gerät einwandfrei. Wo bekommt man also noch so einen Schalter her? Bei Bürklin bin ich fündig geworden. Da gibt es diesen noch mit Art. Nr. 15G400 zu 12,50 €/St (Stand: August 2016) Nach ein wenig Feilarbeiten passte er auf Anhieb rein. Auf der einen Seite musste das Befestigungsblech etwas abgefeilt werden, damit es keine leitende Verbindung zum Testpunkt-Lötnagel gibt. Nach dem Zusammenbau erfreut dieses Gerät wieder. Jetzt habe ich wieder keinen Kassettendeckel…

Ich verfasse diesen Bericht, weil ich hinweisen will, wo es solch einen Tastschalter heute noch gibt. Siemens hat für dieses Gerät keine Ersatzteile mehr lagernd. Vielleicht hilft das ja dem einen oder anderen Sammler.

Der braune Tastschalter ist der defekte (da sind die Kontakte innen weggebrannt), der weiße ist der neue.

Noch ein Hinweis Zum Öffnen des Geräts braucht man einen langen Kreuzschlitz-Schraubendreher Gr.2 mit mindestens 20 cm Länge. Sonst kommt man nicht an die Schrauben ran.

Viele Grüße

Klaus Pahr

Klaus Pahr, 10.Aug.16

Weitere Posts (1) zu diesem Thema.