Vierröhren-Verstärker Gehäuse groß
Siemens (& Halske, -Schuckert Werke SSW, Electrogeräte); Berlin, München
- Pays
- Allemagne
- Fabricant / Marque
- Siemens (& Halske, -Schuckert Werke SSW, Electrogeräte); Berlin, München
- Année
- 1916 ?
- Catégorie
- Amplificateur BF ou mélangeur BF
- Radiomuseum.org ID
- 204470
Cliquez sur la vignette du schéma pour le demander en tant que document gratuit.
- No. de tubes
- 4
- Principe général
- Amplification audio; 4 Etage(s) BF
- Gammes d'ondes
- - sans
- Tension / type courant
- Piles (rechargeables ou/et sèches)
- Haut-parleur
- - Pour casque ou amplificateur BF
- Matière
- Boitier en bois, lampes visibles
- De Radiomuseum.org
- Modèle: Vierröhren-Verstärker [Gehäuse groß] - Siemens & Halske, -Schuckert
- Remarques
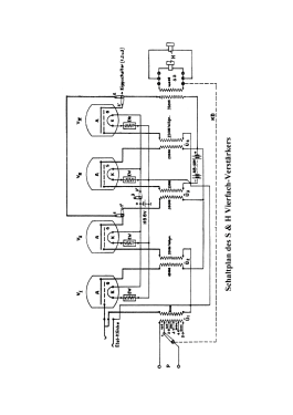
- S & H Verstärker, ältere Ausführung, auch für Funkentelegraphie anwendbar.
- Auteur
- Modèle crée par d'un membre de D. Voir les propositions de modification pour les contributeurs supplémentaires.
- D'autres Modèles
-
Vous pourrez trouver sous ce lien 2543 modèles d'appareils, 2154 avec des images et 1347 avec des schémas.
Tous les appareils de Siemens (& Halske, -Schuckert Werke SSW, Electrogeräte); Berlin, München